Steam Locomotive Construction and Maintenance/Chapter VII
CHAPTER VII
GENERAL MACHINE SHOP
Machinery and Methods—General. To describe the many processes which various parts of the engine undergo in the general machine shop would be a task far beyond the possibilities of this book. This shop is provided with the lathes, planing, shaping, and slotting machines such as are to be found in all large engineering shops, and in addition there are many special modern tools, such as automatic lathes for making stays, pins, studs, etc., grinding machinery, and above all, milling machines. Formerly the machining was performed on the first mentioned machine tools of standard pattern, and then passed on to the fitters to be finished by filing, scraping and the other well known fitters’ methods. Nowadays the work is done and completed as far as possible on milling and grinding machines, so that as little fitting as possible is required, many of the parts going direct from the machines to the erecting shop to be put together on the engine. The former processes of planing, shaping and slotting are now very largely replaced by milling. In milling machines the work is machined by revolving vertical or horizontal serrated cutters, which produce a fine finished smooth surface. These cutters can be shaped, or two or three of them put together, to mill out irregular curves and grooves, and so save a vast amount of labour formerly required from the fitters. Slide bars, piston rods, and many other parts are ground to size on grinding machines by means of emery or corundum wheels revolving at high speeds. The work is all done to limit gauges, and can be finished within 0·0005 in. if required.
When a large quantity of similar pieces are to be made, they are machined in “jigs” or “fixtures.” These are attachments bolted to the machine, and made to suit the particular pieces to be machined. The latter are secured in or by the jig, which locates their position in such a way that the machining is done accurately without preliminary marking-out of holes and contour lines. If only one or two engines of the same class are being built, it does not pay to make expensive jigs and fixtures, and the older methods of marking off and machining are then employed. The object of the modern improvements is to reduce the cost of the work, and at the same time to improve its accuracy and quality.
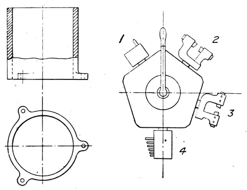
Pistons, and Piston Rods. The pistons are usually of cast iron, but are now frequently made of stamped steel, which has the advantage of enabling a lighter piston to be used owing to the greater strength of the material. The latest practice is to machine the pistons on a heavy turret lathe, in which a number of tools are fixed in a revolving turret. When one operation has been completed, the turret is turned through an angle to present another tool to the piston for the next operation, and the first tool remains in correct adjustment for use on the next piston in due course. The holes for the piston rod are bored with a large twist drill; and the next tool
![]() | |
| Fig. 36.—Cast Iron Cylinder for Piston Rings. | Fig. 37.—Tools in Turret for Machining Piston Rings. |
faces the piston on one side. A third tool turns the outside periphery, and a fourth operation cuts the two grooves in the periphery, into which the piston rings fit. These rings, two in number, are of cast iron, generally about ½ in. to ⅝ in. broad by ⅜ in. to ½ in. deep. The outside diameter of the ring is turned about ⅛ in. to ¼ in. larger than the bore of the cylinder. A piece is then cut out with a saw or parting tool and this enables the two ends to be pressed together so that the ring can be sprung into the cylinder. When in place the rings spring back, and their pressure against the cylinder walls causes the piston to be steam tight. The latest method of making these rings is to cast a cylinder of the form shown in Fig. 36 with lugs at the bottom, which can be bolted to the horizontal table of a turning and boring mill. This machine is provided with a turret head which has four tools (Fig. 37) for four operations. Tool No. 1 faces the top of the casting, and is then followed by No. 2 in which two cutting tools are employed to rough-bore the inside and rough-turn the outside at one operation. No. 3 is a similar tool for the finishing cuts of the boring and turning. A depth of 5 or 6 inches of the casting is now ready to be cut off into rings. This is done by means of a special holder No. 4 containing six parting tools, so arranged that the top tool stands out beyond the next one below it and so on. Each tool enters the casting a little before the tool below it and thus each ring is cut off before the one below it, for it is of course impossible to cut off all the rings simultaneously.
The piston rods are either screwed into the pistons or have plain coned ends which are secured to the piston by a large nut screwed on the front side. The rods are turned nearly to size in a lathe, and finished to the exact diameter in a grinding machine. In this machine an emery wheel W (Fig. 38), revolves at a surface speed of about 6,000 ft. per min. The rod R also revolves, the directions of revolution being as shown by the arrows. Finally either the rod or the wheel must have a longitudinal motion so that the wheel can grind the whole length of the rod. The direction of this motion is reversed at the end of each traverse. A is a clamp for holding the rod in its proper position
_Steam_Locomotive_Construction_and_Maintenance_Fig38.png)
Fig. 38. Grinding a Piston Rod.
against the wheel. The bed of the machine, not shown, is somewhat similar to that of a lathe.
_Steam_Locomotive_Construction_and_Maintenance_Fig39.png)
Fig. 39.—Crosshead and Slide Blocks.
The slide bars are plain rectangular bars of steel which are planed to within a fraction of the finished sizes, the ends faced, and the holes drilled for the bolts which connect them to the cylinders at one end and to the motion plate at the other. The faces on which the slide blocks move were formerly draw-filed to a true surface on a surface plate. This involved much fitters’ work. Now the bars are placed on the reciprocating table of a grinding machine, and the surfaces are ground true by emery or corundum wheels. Beyond removing the sharp edges no fitters’ work is required, and the bars go straight to the erecting shop. The type of grinding machine used is quite different from that employed for grinding piston rods, and may be likened to a planing machine, in which cutting tools are replaced by an abrasive wheel.
Connecting and Coupling Rods. The machining of connecting and coupling rods is a case in which large milling machines have replaced planing machines. The rods are now fluted out to form an I-section, and the whole of the surfaces and edges are milled. Fig. 40 shows the surfaces of two rods being milled on a large machine. In the ordinary type of connecting rod the brasses must be bedded down and fitted into the straps, and the straps fitted to the rods, etc., so that there is no shake, and the rod works as if it were a solid piece. The rod must be straight, and the holes through the brasses, in which the crank and crosshead pins work, must be at right angles to the axis of the rod, and the axes of both holes parallel to each other. Such work has to be done by the fitters when putting the various pieces of the rods together, before sending them to the erecting shop.
_Steam_Locomotive_Construction_and_Maintenance_Fig40.jpg)
Fig. 40.—Connecting Rod Milling Machine.
By Messrs. T. Butler & Co. (Halifax).
Link Motion.—The link motion,[1] consists of a large number of parts which have to be machined and fitted together. The side faces of the curved quadrant links are planed or milled to the proper thickness, several being machined at one time. A template is then laid on them and each marked off to the proper finished curved shape. All the holes are drilled through “jigs” which locate them accurately, and the links are slotted out to the lines marked by the template. The blocks which work in the quadrant link are also slotted or milled to shape. The levers which connect the various parts of the link motion are milled on the faces and to contour on the sides. All work of this kind is produced in a better manner and in less time on milling machines than by slotting and planing. All holes and the pins which fit into them are bored and turned to limit gauges. The fitters then fit all the parts together, testing and levelling them so that everything is perfectly “square,” and all the necessary oil grooves are cut in the blocks and pin holes.
Case-Hardening. The parts of the link motion are then taken apart and sent to the case-hardening shop, a department which has not so far been mentioned. “Case-hardening” is a carbonizing process which produces a hard steel surface on the parts, without which they would be subject to undue wear. All link motion parts and pins, and also slide bars undergo this process. The parts are placed in cases, and packed round with pieces of charcoal, leather, and bones, and carefully sealed up. The cases are then heated in a furnace for 12 to 18 hrs. after which the parts are removed and cooled in water. Case-hardening has been described as a somewhat brutal process, though nothing better has yet been found. It has the disadvantage that the parts so treated warp somewhat in the process, and have therefore to be returned to the fitters and machine shop to be corrected. The case-hardened surfaces are so hard that they cannot be touched with a file, hence the holes are ground out to limit gauges by very small emery wheels or, alternatively, they are “lapped” out by revolving spindles made of lead and covered with emery powder and oil. Due allowance for the warping is made in the previous machining and fitting, a very slight amount of extra material being left for the final grinding to finished size after case-hardening.
- ↑ The link motion and also connecting rods are illustrated and described in the primer on The Steam Railway Locomotive.
_Steam_Locomotive_Construction_and_Maintenance_Fig36%252B37.png)