Page:Popular Science Monthly Volume 83.djvu/207
This page has been proofread, but needs to be validated.
THE CURVING OF A BASEBALL
203

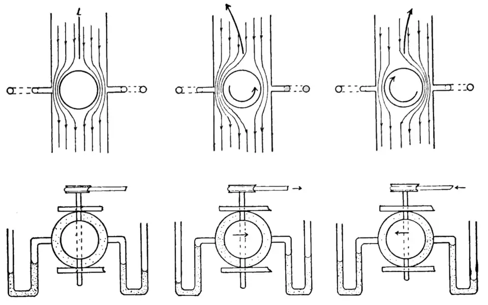
| Fig. 8. | Fig. 9. | Fig. 10. |
in end view of Fig. 9). This is equivalent to the bail going through the air with a rotary motion and the difference in pressure on the two sides curves it as shown by the heavy arrow.
If the rotation of the ball is reversed, the lower-pressure region (higher velocity region) is on the other side of the ball. This is equivalent to the ball going through the air with a rotary motion as shown in Fig. 10 and the difference in pressure on the two sides of it causes it to curve as shown by the heavy arrow.