Page:Popular Science Monthly Volume 57.djvu/491
is stopped the controller B is turned into such a position that all electrical connections between the battery and the motor C are broken. To start the vehicle the controller B is turned so as to make the necessary electrical connections between the battery A and the motor C, and then the electric current passes from the battery through the controlling switch to the motor, and thence back to the controller and the battery. The heavy broken lines indicate the path of the current and the arrows show the direction. The velocity of the motor and the speed of the carriage are varied by varying the strength of the current, and this is effected by the movement of the controlling switch B. There are many ways in which the movement of this switch can vary the strength of the current, but an explanation of any one of them would be dry and rather technical; hence it is sufficient to say that whatever the arrangement of the connections of the controller with the other parts of the system, their relation is such that by the movement of the switch handle the speed of the motor is changed from zero to the maximum velocity.
![]() | ||
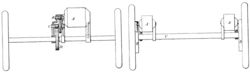
| Fig. 2. Double Reduction. | Fig. 3. Single Reduction. | |
In the majority of American vehicles the motion of the motor is transmitted to the wheels by means of spur gearing. In some cases a single motor is used, in others two; and in one or two designs that have come to public notice, four motors are employed, one for each wheel of the carriage. Fig. 2 illustrates what is commonly called a double reduction gear for single motor equipment. The outline A represents the motor, B being the shaft. Upon this shaft is mounted a small pinion which meshes into a larger wheel on the intermediate shaft C. This shaft carries a pinion which meshes into the wheel D mounted upon the axle of the vehicle.
Fig. 3 illustrates a single reduction double motor equipment, the motors being located at AA. In this arrangement the pinion on the end of the motor shaft meshes directly into a large gear secured to the carriage wheel, thus dispensing with the intermediate shaft C of the previous figure. The single reduction gear is the more simple in construction, but the motors run at a lower velocity, and on that account must be larger for the same capacity. With the double motor con-
