Page:Popular Science Monthly Volume 26.djvu/664
have to be introduced, then instantly opened for the introduction, and as instantly closed after the introduction. It was equally requisite to guard the entrance into the chamber, so that the men employed in pushing in the cage should be protected from the vapor. A method had also to be adopted by which it could be known when all the animals had ceased to breathe.
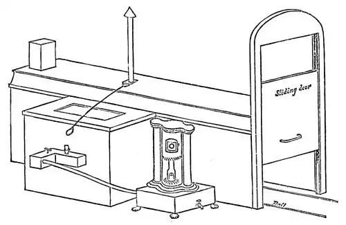
To meet the first of the above-named conditions, I constructed the lethal chamber (the outline of which is shown in Fig. 1) of well-seasoned

Fig. 1.—The Lethal Chamber.
timber, making every part of it a double wall, and filling the interspace closely with sawdust.
In order to obtain the slight excess of space which was wanted to insure diffusion, I formed on each side of the chamber an extra space, which I call a pocket. They are in the center on each side, and stand out as aisles from a central nave.
In order to secure quick and equal distribution of the vapors through the chamber from the stove, I let the gases in at first from the top, under the impression that the gases, being heavier than the atmosphere, would be made to pass with greater rapidity into all parts. Theoretically, this view is correct; but, as it became necessary to have two floors or tiers to the cage, I was obliged, in the end, to let in the gas half-way down the sides of the chamber. By using two stoves, one on each side, this method of introduction was both convenient and effective. To remove the common air, an opening, with a shaft of ten feet, was made in the roof. The shaft has a bore of three inches, and has a cap at the top, in order to prevent down-currents of air. At the foot of the shaft is a damper, which can be opened and closed at pleasure.