Page:Popular Science Monthly Volume 16.djvu/177
If the streams of radiant matter carry an electric current, they will act like two parallel conducting wires and attract one another; but if they are simply built up of negatively electrified molecules, they will repel each other.
I will first connect the upper negative pole (a) with the coil, and you see the ray shooting along the line d, f. I now bring the lower negative pole (b) into play, and another line (e, h) darts along the screen. But notice the way the first line behaves: it jumps up from its first position, d f, to d g, showing that it is repelled, and if time permitted I could show you that the lower ray is also deflected from its normal direction: therefore the two parallel streams of radiant matter exert mutual repulsion, acting not like current carriers, but merely as similarly electrified bodies.
Radiant Matter produces Heat when its Motion is arrested.—During these experiments another property of radiant matter has made itself evident, although I have not yet drawn attention to it. The glass gets very warm where the green phosphorescence is strongest. The molecular focus on the tube, which we saw earlier in the evening (Fig. 8), is intensely hot, and I have prepared an apparatus by which this heat at the focus can be rendered apparent to all present.
| Fig. 19. |
|
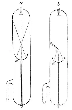
I have here a small tube (Fig, 19, a) with a cup-shaped negative pole. This cup projects the rays to a focus in the middle of the tube. At the side of the tube is a small electro-magnet, which I can set in action by touching a key, and the focus is then drawn to the side of the glass tube (Fig. 19, b.) To show the first action of the heat, I have coated the tube with wax. I will put the apparatus in front of the electric lantern (Fig. 20, d), and throw a magnified image of the tube on the screen. The coil is now at work, and the focus of molecular rays is projected along the tube. I turn the magnetism on, and draw the focus to the side of the glass. The first thing you see is a small circular patch melted in the coating of wax. The glass soon begins to disintegrate, and cracks are shooting starwise from the center of heat. The glass is softening. Now the atmospheric pressure forces it in, and now it melts. A hole (e) is perforated in the middle, the air rushes in, and the experiment is at an end.
I can render this focal heat more evident if I allow it to play on a piece of metal. This bulb (Fig. 21) is furnished with a negative pole in the form of a cup (a). The rays will therefore be projected to a focus on a piece of iridio platinum (b) supported in the center of the bulb.
