Life in Motion/Lecture III

LECTURE III
Study of tetanus or cramp—Simple contraction and muscle curve—Muscle sound—Elasticity of muscle—Inherent irritability of muscle—White blood corpuscles—Cilia—Structure of muscle—End-plates in muscle.

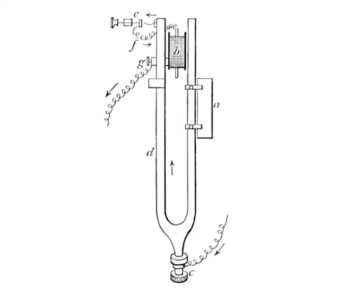
To-day we shall, in the first place, study tetanus or cramp. For this purpose, I have fitted up the usual preparation, with which Fig. 32.—Steel spring for making and breaking the primary circuit of induction coil. The point on the left is caused to dip into mercury, and thus make contact. See Fig. 29. you are now familiar, and I have made arrangements for opening and closing the primary circuit of the induction machine by means of a long flat spring. Here is the battery. Let us follow the wire leading the current from the positive pole of the battery to the primary coil. Then the current passes through the coil and out by this wire to a little cup containing mercury. When the needle on the under surface of the end of the spring dips into the mercury, the current will pass through the mercury, along the spring, and then, by this other wire, back to the battery, entering it at the negative pole. I have also interpolated an electro-magnetic signal in the circuit, so that each vibration of the spring is also registered on the plate of the railway myograph.

Let us begin by sending a very few shocks per second to the nerve. This we can do by using the spring at its full length, thus causing it to vibrate slowly. You see the muscle twitching each time the spring dips into the mercury and comes out again, and we get a curve in which the separate contractions can be seen (see Fig. 33, b, c, d, e). But already, you will observe, the contractions are, as it were, piled upon each other, f. Thus the muscle contracts with the first shock; then it begins to relax; but before it has had time to relax it again receives a shock, and it again contracts. Then it again relaxes; but it does not relax so much as before, ere it receives the third shock, and Fig. 33.—Curves showing the production of tetanus, as taken in the rapidly moving plate of the railway myograph. Observe in all the experiments from a to e the muscle had time to relax between the shocks; at f tetanus began to appear, and in g it was complete. The curves here shown are one-fifth of their real size. successive steps become smaller and smaller as we ascend (see Figs. 34, 35, and 36).

By shortening the spring, we quicken the period of its vibration, and thus we increase the number of shocks per second. Now you observe the individual contractions are smaller and closer together; but if we look at the tracing carefully, we find the same stair-like character of the curve, only the steps are smaller (Fig. 35). Again, still further shorten the spring and increase the number of shocks. The lever is at once pulled up as far as it will go; but it quivers with with shock, and the curve shows a number of little teeth along its summit (Fig. 36). Make the spring still shorter, and you find the quivering disappears, and the uniform curve of tetanus shows itself, Fig. 34.—Tracing of a muscle passing into a tetanic state. The first shock was transmitted to the nerve at a, the second an instant after 1, the third an instant after 2, and so on. It will he observed that with each succeeding shook the muscle becomes shorter, though the amount of shortening with each shock is less. a curve having a long flat summit presenting no teeth (Fig. 37).

The diagrams in Figs. 34 to 37 show curves taken on a slowly moving drum.

This experiment demonstrates that tetanus is produced by a fusion or adding together of small contractions. One shock causes one contraction; two shocks, closely following, cause two contractions so far blending into each other; three shocks, closely following, cause three contractions, still further blending, and so on, until the shocks come so fast that the individual contractions are all fused together to form a curve. Tetanus, therefore, is not one contraction, but a state brought about by the Fig. 35.—Curve showing the production of tetanus. a to b, individual contractions; b to c, muscle now tetanic. The slope of line from b to c shows that muscle is becoming fatigued; e, indicates moment when induction shocks stopped; c d, slow relaxation. fusion or summation of many contractions. With the frog's muscle, about fifteen shocks per second are sufficient to cause tetanus; the muscles of a tortoise require only two to three; the muscles of a rabbit from ten to twenty; the muscles of birds about seventy; and the muscles of insects over three hundred per second. If the number of shocks is very much increased, even to as many as twenty-four thousand per second, tetanus is still produced.

Let us now take a tracing of a simple muscular contraction on a blackened surface moving with great rapidity. This is usually Fig. 36.—Curve showing production of tetanus. a to b, result of first shock; then observe the cumulative or gathering-up effect of the successive shocks as shown by gradual ascent of line from b to c; stoppage at e of shocks; e f, gradual relaxation. done by causing the muscle to record its movement on a glass plate forming the bob of Fig. 37.—Tetanus curve produced by numerous shocks from induction coil. The individual contractions are no longer seen. a seconds pendulum which is allowed to make only one swing, and the tracing obtained is shown in this diagram. I found it was not easy to fit up such a pendulum in this lecture-room, and we shall therefore use the railway myograph. Mr. Brodie will cause the myograph to interrupt the primary circuit of the coil only once, and thus send only one shock to the nerve. The muscle will contract and describe its curve. Here it is. The curve is so loner as to allow us to analyse it carefully. We Fig. 38.—Curve of singular muscular twitch as taken by railway myograph. have first the latent period already discussed. This occupies say one-two-hundredth of a second. This is followed by the stage of contraction, from the moment the muscle begins to shorten to the time when it reaches its greatest degree of contraction. In this stage, as you see by the varying slopes of different parts of the curve, the muscle usually contracts, at first slowly, then rapidly, and again more slowly, and the time occupied is three-hundredths to four-hundredths of a second. Next, the muscle at once begins to relax, at first slowly, then rapidly, and again more slowly, and the time, shorter than the time of contraction, is less than three-hundredths of a second. Lastly, as a rule, we find a few smaller waves, as if, in recovering itself, the muscle had been thrown into a kind of vibration. Sometimes the muscle, unless it be drawn out by a weight attached to it, does not return at once to its original length, but remains somewhat shortened. This occurs readily in muscles that are fatigued.

The question at once suggests itself as to whether the contractions of the muscles in our bodies are of the nature of twitches, that is, single contractions, or of tetanus. We can apparently flex and extend the arm with great rapidity, and one would naturally suppose that such contractions of the biceps muscle in front, and of the triceps muscle behind, were simple contractions. There are strong grounds for holding, however, that they are not so, but that the movement is really a short tetanic contraction. There can be no doubt that when we firmly contract a muscle and maintain the contraction, the muscle is in a state of tetanus, in which the quivers of the partial contractions can be seen. We all know how difficult it is to keep the hand or arm quite steady. They tremble, and we can feel the vibration. This can be demonstrated.

I have here a strong spring placed horizontally, and while it is firmly secured at one end I can pull upon the other. To show its vibrations, we have attached to the spring, and at right angles to it, a thin rod, the upper end of which is in the electric beam, and you see its shadow on the wall. When I pull as strongly as I can, you see the upper end of the rod vibrating. The muscles of my arm are in a state of strong contraction, of physiological tetanus, but they cannot remain permanently contracted. At one instant they relax a little, and the elastic recoil of the spring stretches them; then they contract for a moment, and so on. Thus they are vibrating.

While I was arranging this experiment I considered how I might be able to show you the time occupied by voluntary movements, say those of the fingers in writing a letter. It can be done in this way: Here is a tuning-fork worked by an electro-magnet, and vibrating about 240 times per second. I have an arrangement by which I can attach a glass plate to the side of one of the limbs of the fork, and I have placed exact counterpoises on the other limb. I now blacken the slip of glass Fig. 39.—Tuning-fork arranged for causing a smoked-glass plate, a, to vibrate, b, electro-magnet; current passes in at c, along limb of fork, d, along platinum wire to platinum contact at e, thence by wire, f, to electro-magnet, b, thence back to battery by wire from g. When b is magnetised the limbs of the fork are drawn together and contact is broken at e. The limbs then fly back and again make contact at c, and so on. (an ordinary microscopic slide) in the smoky flame of this lamp and attach it to the fork. Set the fork vibrating. I shall now write something on the smoked surface with a needle point, taking care to write at right angles to the movements of the fork, and then Mr. Heath will place it in the lantern. Then you see the words, and you will observe that the letters show little curves, each of which represents about one-two-hundred-and-fortieth of a second. By counting the little curves in any letter you can measure the time I occupied in writing it.

Fig. 40.—Time of making voluntary movements in writing letters. Each little wave is the one-two-hundred-and-fortieth of a second. Examine with a magnifying glass. In the experiment the lines were white on a black ground.

But let us return to the question of whether ordinary voluntary contractions are twitches or tetanic spasms. Another strong bit of evidence in favour of the occurrence of what we call physiological tetanus find in the phenomenon of the so-called muscle sound. This was first observed by the celebrated Dr. Wollaston, a prominent man of science of his day, and one of those who took a deep interest in this Institution in its earlier years. His bust is on the staircase. He discovered that when a muscle contracts, and is maintained in a state of tension, it gives out a sound or tone. We can hear it by placing the ear over a muscle, like the biceps of a muscular person; or, in the dead of night, when all is still, by strongly pressing the teeth against each other by clenching the muscles of the jaws. You may hear it, I believe, simply by putting the tips of the index fingers into the ears and then contracting the muscles of the arms. Now you are aware that the pitch of a tone is determined by the number of vibrations per second made by the body that vibrates and gives out the tone. This tuning-fork, for example, vibrates 128 times per second and gives out a tone of low pitch, while this other one vibrates 8 times as fast, or 1004 vibrations per second, and consequently gives a tone of much higher pitch. The pitch of the muscular tone indicates that it is produced by about 19.5 vibrations per second. If so, it follows that in a persistent muscular contraction in a healthy person, the muscle must be vibrating or quivering that number of times per second; or, in other words, the contraction is a kind of tetanus produced by about twenty shocks per second. But the stimulus that causes a voluntary contraction comes from the nervous system, the impulse originally starting from the brain. This stimulus passes along the nerves to the muscles and is their normal stimulus; but these considerations show us that the nervous stimulus, whatever it may be, is not like a continuous current flowing from the brain in the nerves to the muscles, but that it is intermittent and is more comparable to a series of shocks sent out at the rate of from ten (as some hold) to about twenty per second. Thus you see the study of tetanus lets us get a glimpse of what is probably occurring in every voluntary movement.

We have seen that a muscle is contractile. Has it any other special properties? Here are two muscles hanging side by side of about equal size and equal weight. Each has a strong silk thread tied round its tendon and a hook attached to the thread. One of these muscles is fresh and the other is dead, and has been so for many hours. I shall suspend equal weights, so as to see how much each muscle will carry, and we will find that the dead muscle will tear sooner than the living one. Its cohesion is not so great. Further, we may notice that the dead muscle scarcely stretches when I put the weights on, but the living one stretches considerably, that is to say, the living muscle is extensible. Now watch the living one closely. I shall connect it with this lever, so that we may see its movements better. You observe when I put a weight on it, it stretches, and when I remove the weight it returns to almost, but not quite, its original length; that is to say, it is extensile and retractile. This property of becoming extended and then returning to its original length is still by most physiologists described under the name elasticity, but I prefer to retain this term for the property a muscle has of returning to its original length after it has contracted. If, however, we regard muscle as a passive structure, then we find that it is a slightly but perfectly elastic body. It yields to a weight, but when the weight is removed the muscle readily returns to its former length.

Let us examine more closely the behaviour of the muscle when it is extended by gradually increasing weights, and let us compare it with this band of india-rubber. We will fix the two, side by side, against a board on which we can mark the amount of extension in each case. Notice that with gradually increasing weights the india-rubber extends so that the amount of extension is directly proportional to the weight; that is to say, for each equal increment, the india-rubber is extended to an equal amount. Compare this with the muscle. You observe the first weight stretches it so much; if the weight is now doubled we do not get twice the amount of extension, but less than half; if the weight is again increased by one third, we get only a little more stretching; and so on, each increase on stretching becoming less and less. Thus, with the india-rubber, if we note the amount of stretching on the board by a number of vertical lines, each line representing a uniform increase in the weight, and if we join the end of these lines we get a straight line. On the other hand, by performing the same experiment on a muscle, the line joining the vertical lines that represent the stretchings is not straight but it is a curve, the curve of a hyperbola, in mathematical language; that is to say, a curve which constantly tends to become parallel with a horizontal line in the same plane but never reaches this condition.

The fact that muscles can be stretched, and that they return to their first length when the stretching force ceases to act, is of great importance to their mode of action. In the body, the muscles are always partially on the stretch. They are never "on the slack," to use a familiar phrase, and they are ready to exert a pull on the bones to which they are attached, the instant they begin to contract. Thus no power is wasted. Further, as has been ingeniously shown by Professor Marey, the elasticity breaks the force of the shock produced by the sudden contraction of the muscle, and the energy of the contraction is expended more gradually and effectively than if the muscle had been non-elastic. Suppose a horse drawing a cart along a rough road by non-elastic ropes or chains attached to its harness. It would receive, as it exerted its power, a number of jars and jolts which would not only be unpleasant, but which would absorb and dissipate some of the energy it was expending. The animal would be more comfortable, and it would work more efficiently, if a number of elastic structures were interposed between it and the cart. The jolts would be taken up by the elastic structures, and the horse, instead of having to pull in a spasmodic way, would pull steadily and without jerks. The amount of effective work would thus be increased.

I am inclined, however, to think that the elasticity of muscle plays even a more important role than this, as has recently been ably advocated by a great French physiologist, Professor Chauveau. It has long been known that a contracted muscle can be stretched to a given extent by a smaller weight than is required to stretch it when it is at rest and not contracted. This has led physiologists to say that by contraction the elasticity of the muscle is diminished in amount while it is still perfect; that is to say, a contracted muscle is easily stretched, and when the stretching force is removed, it returns at once to its former length. But may we not say that the contractility develops an elastic force different from the mere extensibility and retractility we have already studied, and that this elastic force does the work of producing movement? A contracted muscle, according to this view, is like a strong band of india-rubber pulling on two pieces of wood and drawing them together. In like manner, when a muscle contracts, a similar elastic power is developed that pulls upon the bones and causes movement. When the contraction ceases, the muscle returns to its original length, again by elasticity, but acting in the opposite way.

What is this property of irritability by virtue of which the muscle responds to a stimulus and contracts? Is it something possessed by muscles alone, or do we find it anywhere else? Upon this point, at one time, there was a keen controversy. In 1760, a great Swiss physiologist, Haller, wrote upon muscular irritability. Before this date, it was commonly held that the property of irritability was derived from the nerves, and it was supposed that the nerves conveyed the power or force manifested by the muscles. He found, however, that muscles remained contractile after their nerves had been divided, and even after the muscles had been removed from the body. He also observed contractility in certain plants destitute of nerves, and in some of the lower animals, in the bodies of which no nervous structures had been found. He arrived, therefore, at the conclusion that the property was inherent in muscular fibre itself, a vis insita. His views were strongly opposed by Robert Whytt, a professor in the University of Edinburgh, and the progenitor of the famous novelist. Captain Whyte-Melville. He contended that the contractility of the muscles was a property conferred upon them by the nerves. A grand discussion took place between the Hallerians and their opponents; it was carried on for years with keenness and, as scientific men feel strongly on the questions on which they differ, even with some degree of acrimony. As is often the result of such controversies, both disputants were obliged to widen the basis of their opinions, and to examine more closely and carefully the facts on which they founded their theories. Thus the Hallerians recognised that contractile movement occurred in other tissues than in muscle alone, as in the coats of the arteries and in the skin; whilst, on the other hand, their opponents were led to study more carefully the physiology of the nervous system. Thus the dispute contributed to clearer physiological ideas apart from the real question at issue.

Time has declared in favour of Haller. His opponents naturally pointed to the wasting of the muscles after division of the nerves supplying them; but, on the other hand, it has been shown that this is due to the imperfect nutrition which follows a state of inaction, and that if the nerve or muscle be directly and systematically stimulated, the muscle may not undergo very much degeneration nor become less irritable. We know also that we may exhaust a nerve so that when shocks are applied to it the muscle with which it is connected will not respond. If we then send the shock directly to the muscle it may still contract. Again, the protoplasm of plants, and of many of the lower forms of animal life in whichi no nervous tissue can be detected, manifests contractility.

Let us examine this diagram showing a Fig. 41.—Drop of human blood. a, coloured or red corpuscle, showing clear spot in centre, or a′, dark spot in centre, according to focus; b, b, b, colourless corpuscles, or leucocytes; b′, red corpuscles in rouleaux. 300 diameters. drop of human blood, as seen by a microscope magnifying about three hundred times. You Fig. 42.—White blood corpuscles in frog's blood, magnified 560 times. Changes of form observed during ten minutes. Numbers represent minutes from the beginning of the experiment. see the red corpuscles in great numbers, but here and there you will observe a few larger ones. These are leucocytes or white blood corpuscles. Careful observations, with high microscopic powers, show us that these are little living things capable of moving and of changing their form, especially when irritated.

Covering many parts of the bodies of some of the lower animals, and abounding on some surfaces, as in the air passages of our own Fig. 43.—Stratified ciliated epithelium. 1, oval; 2, spindle-shaped; 3, cylindrical cells, magnified 560 diameters. From the lining of the nose in the respiratory region. bodies, are delicate hair-like things called cilia. This diagram shows them as found in the human windpipe. These cilia are destitute of nerves, and yet we see them during life in rapid movement. With high powers, one can see the protoplasm of which they are composed apparently pulsating. All we can say as to their movement is that they show rhythmical contractions. Inherent in their protoplasm is this property of contractility. This statement, you will observe, explains nothing.

Muscular tissue is found in the body in two varieties of fibres which we term the smooth and the transversely striated. Those who examine with their microscopes the structure of the tissues of the body speak of minute things called cells. A cell is a little bit of living Fig. 44.—1. Original conception of a cell, a, cell wall; b, nucleus; c, cell substance or cell contents; d, smaller body, called a nucleolus. 2. Cell wall has disappeared, b, nucleus; c, nucleolus; c, cell substance or contents. 3. Modern view. Cell now consists of granular matter often showing a delicate network of fine fibres. matter, often having a membrane round it, and almost always having in it a small body, like a kernel, called the nucleus. Cells, always microscopic in size, so that many thousands might be packed away in a space the size of a pea, have many forms, as you see in these diagrams. Some are round, others polygonal, others elongated or drawn out, and others have little processes standing out from them. Now both kinds of muscular fibres are cells the bodies of which are greatly extended lengthways. The smooth fibre-cells are long, spindle-shaped, Fig. 45.—Two smooth muscular fibres from the small intestine of a frog. somewhat cylindrical, bodies with pointed ends, about one-two-hundredth of an inch long by one-five-thousandth of an inch in breadth. Fig. 46.—striated muscle of frog. 1, effects of water ; s s′, sarcolemma. 2, action of acetic acid, showing nuclei at k. 3, action of caustic potash. 4, branched muscle-fibre from the tongue. All magnified about 50 diameters. This kind is found in the coats of the hollow organs, like the stomach, and it is not subject to voluntary control. The other is called striated muscle, because it is apparently formed of fibres, the surfaces of which show markings or lines running transversely across the fibre, as you see in this diagram. Each fibre is really an enormous cell, about one and a half inch long by about one- three-hundredth of an inch broad. The wall of the cell is a fine membrane called the sarcolemma, and in it we find the muscle -substance showing alternately dark and narrower and clear and broader bands. The distance between two of the dark bands is on an average about the one-ten-thousandth of an inch. These dark and light bands are really the edges of discs, so that we have a disc of light substance alternating with a disc of dark substance. Each clear disc, however, when the muscle-fibre is looked at with a high power, shows a thin dark line passing through it, as shown in this diagram, and there is a fainter line, not so well marked, in the centre of the dark disc. Sometimes the fibre splits crossways into discs, and at other times into fine fibrils, each of which shows the same transverse markings as are seen in the fully formed fibre. The dark portions, usually called the sarcous elements of Bowman, after their discoverer Sir William Bowman, so well known in this Institution, are the parts of the fibre that show contractility. By special methods of preparation, Professor Schafer and others have shown us that the structure of muscle is even more complicated, and that there are peculiar rod- Fig. 47.—B, human muscular fibre magnified 560 times showing the light and dark hands; k, nuclei; g, Dohie's line. A, the end of the muscular fibre of a frog magnified 240 times splitting into fibrils, f; k, nucleus. like bodies having little knobs at their ends running longitudinally in the fibre. These are not seen in the diagram (Fig. 47). It would only weary you to attempt to explain the theories held by histologists (those who endeavour to investigate the nature of tissues) as to the real nature of a muscular fibre. Suffice it to say that it is a very complex structure, containing apparently contractile matter in the form of discs alternating with discs of a substance that is not contractile but which may Fig. 48.—Diagram showing hypothetical views as to the structure of striated muscle. Four fibres side by side, a, clear bands or discs, each formed of two clear bands or discs, termed the lateral discs of Engelmann, separated by a thin dark line or band, known as Dobie's line, or Krause's membrane; b, two discs of dark substance, forming the sarcous elements of Bowman, having in the centre an ill-defined band or line, the median disc of Hensen; a is singly and b is doubly refractive as regards light. possibly be elastic. Further, during life, the whole of this remarkable structure is semi-fluid, and there are good grounds for believing that the contractile action is due to the creation of currents passing from one part of the fibre to another, accompanied by chemical changes of a very complicated kind.

As one would expect, the fibres of muscle are intimately connected with a nerve. But what is a nerve? This little white cord, the sciatic nerve of a frog, that we have been experimenting with, consists of numerous delicate fibres called nerve-fibres, each about the one-twelve-hundredth of an inch in breadth. Fig. 49.—Medullated nerve-fibres from the sciatic nerve of a frog. 1, 2, 3, fresh, in a solution of common salt. 3, fibre with a constriction at r. 4, fibres as affected by water. 5, as acted on by alcohol. 6, fresh; c, segments. 7, 8, hardened; a, axis-cylinder; b, swelling; k k′, nuclei; m, white substance; r, constriction; s, white substance shrinking from neurilemma. As a rule, each individual fibre has an external sheath called the neurilemma. Inside this we find a cylinder of matter of a fatty nature, known as the white substance of Schwann, and in the cylinder, a core of another substance called the axis-cylinder. These substances during life are semi-fluid. If we traced a nervefibre to the brain or spinal cord, we would find it starting from a process, or, as we call it, a pole, of a nerve-cell. When we trace it to a muscular fibre we find it loses the white substance of Schwann, and the axis-cylinder of the nerve-fibre pierces the sarcolemma, or sheath of the muscle-fibre, and ends in what Fig. 50.—Various forms of nerve-cells. a, multipolar, from the gray matter of the spinal cord; b, d, bipolar, from ganglia on posterior roots of spinal nerves; c, g, from cerebellum; e, union of three cells; f, union of cells by processes. is called an end-plate. The end-plates, seen in the diagrams (Figs. 51 and 52) vary in form and general appearance. Sometimes they consist of very slender fibres, produced by the splitting up of the axis-cylinder, and forming a network; but usually they take the appearance of irregularly shaped granular masses or discs.

As a rule, each muscle-fibre has a spending nerve-fibre. The number of nerve-fibres must therefore be enormous, and a recognition of this fact gives rise to several curious considerations which I shall discuss when we come to consider the electric fishes.

Now we are in a position again to approach the question whether or not the irritability Fig. 51.—Motor nerve-ending from the muscular fibre of the intercostal muscle (muscle between the ribs) of a hedgehog. N, nerve; P, end-plate; Z, flat connective tissue-cells. of a muscle is inherent in the muscle-fibre. Suppose we could eliminate altogether the nerve-fibres in a muscle, would the muscular substance then contract if we irritated it? From what I have told you, you will admit that we could not mechanically remove all the nerve-twigs from a muscle. They are too small to be manipulated by the most dexterous use of scissors and forceps. We shall have recourse, however, to the action of a substance called curare, which paralyses the end-plates in the muscle-fibres. Here are two muscle telegraphs. The one is connected with a muscle afiected by curare, the other with a muscle in a normal state. I have arranged Fig. 52.—A muscle-fibre, a, from a lizard. b, nerve-fibre terminating in an end-plate. my apparatus so as to be able to stimulate both nerves at once or both muscles at once.Now I send the shocks from our induction coil to both nerves, and you observe that only one muscle has contracted, moving its telegraph signal; that is, the muscle the nerve of which is not under the influence of the curare. The other muscle does not respond because its nerve, poisoned by curare, is practically dead, or at all events it cannot act on the muscle. By the curare we have poisoned every nerve filament and every end-plate in this muscle, but we left the muscle-substance just as if we Fig. 53.—Diagram showing the arrangement of the apparatus in demonstrating by curare the inherent irritability of muscle. b, galvanic element; p primary and s secondary coil of induction machine; k, key for admitting shocks either to nerves or muscles; k′, double key for sending shocks either to the two muscles, m and m′, or to the two nerves, n and n′; t t′ telegraph signals. The arrows show the direction of the currents. had dissected out and removed all the nervous structures. Now I send the shocks to both muscles, and you notice that both telegraph signals are raised, apprising us that both muscles have contracted. The muscle-substance then contracts when directly stimulated without the influence of nerves. This beautiful experiment was devised by the eminent French physiologist, Claude Bernard, and conclusively proves the truth of Haller's theory.

A muscle, then, contains contractile stuff, and this stuff is thrown into molecular activity by the nerve. The nerve-current, or nerve-shock, is the natural stimulus of the muscle. So long as the muscle is irritable, it responds to this stimulus, and the obvious response it makes is a change of form, or a contraction.