A Treatise on Painting/Chapter 237

Chap. CCXXXVII.What Part of a Colour is to be the most beautiful.

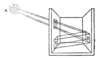
If A be the light, and B the object receiving it in a direct line, E cannot receive that light, but only the reflexion from B, which we shall suppose to be red. In that case, the light it produces being red, it will tinge with red the object E; and if E happen to be also red before, you will see that colour increase in beauty, and appear redder than B; but if E were yellow, you will see a new colour, participating of the red and the yellow.