History of the Tesla coil

Henry Rowland's 1889 spark-excited resonant transformer,[1] a predecessor to the Tesla coil.[2]
Steps in Tesla's development of the Tesla transformer around 1892.[3] (1) Closed-core transformers used at low frequencies, (2-7) rearranging windings for lower losses, (8) removed iron core, (9) partial core, (10-11) final conical Tesla transformer, (12-13) Tesla coil circuits

Nikola Tesla patented the Tesla coil circuit on April 25, 1891.[4][5] and first publicly demonstrated it May 20, 1891 in his lecture "Experiments with Alternate Currents of Very High Frequency and Their Application to Methods of Artificial Illumination" before the American Institute of Electrical Engineers at Columbia College, New York.[6][7][8] Although Tesla patented many similar circuits during this period, this was the first that contained all the elements of the Tesla coil: high voltage primary transformer, capacitor, spark gap, and air core "oscillation transformer".

From Tesla's time until the 1930s Tesla coils were widely used in radio transmitters, quack electrotherapy, and experiments in wireless power transmission, and more recently in movies and show business.

Invention

First drawing of Tesla coil circuit from Tesla's April 25, 1891 patent.[5]
Drawing of Tesla coil circuit from Tesla's May 20, 1891 lecture at Columbia College, New York.[6]
Elihu Thomson's Tesla coil, published February 1892, identical to Tesla's except for a compressed air spark blowout (J).[9]

During the Industrial Revolution the electrical industry exploited direct current (DC) and low frequency alternating current (AC), but not much was known about frequencies above 20 kHz, what are now called radio frequencies. In 1887, four years previously, Heinrich Hertz had discovered Hertzian waves (radio waves), electromagnetic waves which oscillated at very high frequencies.[10][11][12] This attracted much attention, and a number of researchers began experimenting with high frequency currents.

Tesla's background was in the new field of alternating current power systems, so he understood transformers and resonance.[11][8] In 1888 he decided that high frequencies were the most promising field for research, and set up a laboratory at 33 South Fifth Avenue, New York for researching them, initially repeating Hertz's experiments.

He first developed alternators as sources of high frequency current, but by 1890 found they were limited to frequencies of about 20 kHz.[8] In search of higher frequencies he turned to spark-excited resonant circuits.[11] Tesla's innovation was in applying resonance to transformers.[13] Transformers functioned differently at high frequencies than at the low frequencies used in power systems; the iron core in low frequency transformers caused energy losses due to eddy currents and hysteresis.[11] Tesla[3] [13][8] and Elihu Thomson[2][14][15] independently developed a new type of transformer without an iron core, the "oscillation transformer", and the Tesla coil circuit to drive it to produce high voltages.

Tesla invented the Tesla coil during efforts to develop a "wireless" lighting system, with gas discharge light bulbs that would glow in an oscillating electric field from a high voltage, high frequency power source.[11][8] For a high frequency source Tesla powered a Ruhmkorff coil (induction coil) with his high frequency alternator. He found that the core losses due to the high frequency current overheated the iron core in the Ruhmkorff coil and melted the insulation between the primary and secondary windings. To fix this problem Tesla changed the design so that there was an air gap instead of insulating material between the windings, and made the iron core adjustable so it could be moved in or out of the coil[16] He eventually found the highest voltages could be produced when the iron core was omitted. Tesla also found he needed to put the capacitor normally used in the Ruhmkorff circuit between his alternator and the coil's primary winding to avoid burning out the coil. By adjusting the coil and capacitor Tesla found he could take advantage of the resonance set up between the two to achieve even higher frequencies.[17] He found that the highest voltages were generated when the "closed" primary circuit with the capacitor was in resonance with the "open" secondary winding.[13][8]

Tesla was not the first to invent this circuit.[21][15] Henry Rowland built a spark-excited resonant transformer circuit (above) in 1889[2] and Elihu Thomson had experimented with similar circuits in 1890, including one which could produce 64 inch (1.6 m) sparks,[9][22][23] [1] and other sources confirm Tesla was not the first.[14][24][15] However he was the first to see practical applications for it and patent it. Tesla did not perform detailed mathematical analyses of the circuit, relying instead on trial and error and his intuitive understanding of resonance.[8] He even realized that the secondary coil functioned as a quarter-wave resonator; he specified the length of the wire in the secondary coil must be a quarter wavelength at the resonant frequency.[25][8] The first mathematical analyses of the circuit were done by Anton Oberbeck (1895)[26][15] and Paul Drude (1904).[27][4]

Tesla's demonstrations

Tesla demonstrating wireless lighting at his 1891 lecture at Columbia College.[28][29] The two metal sheets are connected to a Tesla coil oscillator, which applies a high radio frequency oscillating voltage. The oscillating electric field between the sheets ionizes the low pressure gas in the two long Geissler tubes he is holding, causing them to glow by fluorescence, similar to neon lights, without wires.

A charismatic showman and self-promoter, in 1891-1893 Tesla used the Tesla coil in dramatic public lectures demonstrating the new science of high voltage, high frequency electricity.[28] The radio frequency AC electric currents produced by a Tesla coil did not behave like the DC or low frequency AC current scientists of the time were familiar with. In lectures at Columbia College May 20, 1891,[6] scientific societies in Britain and France during an 1892 European speaking tour,[30] the Franklin Institute, Philadelphia in February 1893, and the National Electric Light Association, St. Louis in March 1893,[31] he impressed audiences with spectacular brush discharges and streamers, heated iron by induction heating, showed RF current could pass through insulators and be conducted by a single wire without a return path, and powered light bulbs and motors without wires.[29][28] He demonstrated that high frequency currents often did not cause the sensation of electric shock, applying hundreds of thousands of volts to his own body,[32][28] causing his body to light up with a glowing corona discharge in the darkened room. These lectures introduced the "Tesla oscillator" to the scientific community, and made Tesla internationally famous.[33][12]

Wireless power experiments

Light bulb (bottom) powered wirelessly by "receiver" coil tuned to resonance with the huge "magnifying transmitter" coil at Tesla's Colorado Springs lab, 1899.[34]
Tesla's proposed wireless power system, from his 1897 patent.[35] The transmitter (left) consists of a Tesla coil (A,C) driving an elevated capacitive terminal (B) suspended by a balloon (D). The receiver (right) is a similar terminal and resonant transformer.

Tesla employed the Tesla coil in his efforts to achieve wireless power transmission,[36] his lifelong dream. In the period 1891 to 1900 he used it to perform some of the first experiments in wireless power,[37][38][39] transmitting radio frequency power across short distances by inductive coupling between coils of wire.[38][39][40] In his early 1890s demonstrations such as those before the American Institute of Electrical Engineers[40] and at the 1893 Columbian Exposition in Chicago he lit light bulbs from across a room.[39] He found he could increase the distance by using a receiving LC circuit tuned to resonance with the Tesla coil's LC circuit,[13] transferring energy by resonant inductive coupling.[39] At his Colorado Springs laboratory during 1899–1900, by using voltages of the order of 10 million volts generated by his enormous magnifying transmitter coil (described below), he was able to light three incandescent lamps at a distance of about 100 feet (30 m).[34][41][42] Today the resonant inductive coupling discovered by Tesla is a familiar concept in electronics, widely used in IF transformers and short range wireless power transmission systems[39][43] such as cellphone charging pads.

It is now understood that inductive and capacitive coupling are "near-field" effects,[39] so they cannot be used for long-distance transmission.[34][44][45][46] However, Tesla was convinced he could develop a long range wireless power transmission system which could transmit power from power plants directly into homes and factories without wires, described in a visionary June 1900 article in Century Magazine; "The Problem of Increasing Human Energy".[47] He claimed to be able to transmit power on a worldwide scale, using a method that involved conduction through the Earth and atmosphere.[35][48][49][36][50] Tesla believed that the entire Earth could act as an electrical resonator, and that by driving current pulses into the Earth at its resonant frequency from a grounded Tesla coil with an elevated capacitance, the potential of the Earth could be made to oscillate, creating global standing waves, and this alternating current could be received with a capacitive antenna tuned to resonance with it at any point on Earth.[51][52][53][48] Another of his ideas was that transmitting and receiving terminals could be suspended in the air by balloons at 30,000 feet (9,100 m) altitude, where the air pressure is lower.[52][18][35][36] At this altitude, he thought, a layer of electrically conductive rarefied air would allow electricity to be sent at high voltages (hundreds of millions of volts) over long distances. Tesla envisioned building a global network of wireless power stations, which he called his "World Wireless System", which would transmit both information and electric power to everyone on Earth.[54] There is no reliable evidence that he ever transmitted significant amounts of power beyond the short range demonstrations above.[34][55][38][56][11][57][58][59]

Magnifying transmitter

Famous image of magnifying transmitter in operation with Tesla sitting next to it. This is a "trick" photo, a double exposure; Tesla was not in the room when the coil was operating.[60]
Coil in operation, at -12 million volts. The 10 ft diameter "extra" coil is shown. The 51 ft diameter secondary coil is visible dimly in background, and in the previous photo.
Discharge of same coil with a metal sphere capacitive terminal
Primary circuit, showing oil capacitor bank (boxes, foreground), 40 kV supply transformer and rotary spark gap (rear), and part of secondary winding (wall, left)
The huge "magnifying transmitter" coil at Tesla's Colorado Springs laboratory, 1899–1900, photos by photographer Dickenson Alley December 1899. The long arcs shown above were not a feature of the normal operation of the transmitter because they wasted energy; for these photos Tesla forced the machine to produce arcs by switching the power rapidly on and off.[60]
Circuit of magnifying transmitter at Tesla's Colorado Springs laboratory.[61][62] C2 represents the parasitic capacitance between the windings of coil L3.

Tesla's wireless research required increasingly high voltages, and he had reached the limit of the voltages he could generate within the space of his New York lab. Between 1899 and 1900 he built a laboratory in Colorado Springs and performed experiments on wireless transmission there.[62] He chose this location because the polyphase alternating current power distribution system had been introduced there and he had associates who were willing to give him all the power he needed without charging for it.[63] The Colorado Springs laboratory had one of the largest Tesla coils ever built, which Tesla called a "magnifying transmitter" as it was intended to transmit power to a distant receiver.[64] With an input power of 300 kilowatts it could produce potentials of the order of 10 million volts,[62][51] at frequencies of 50–150 kHz, creating huge "lightning bolts" reportedly up to 135 feet long.[65][56] During experiments, it caused an overload which destroyed the alternator of the Colorado Springs power company, and Tesla had to rebuild the alternator.[65]

In the magnifying transmitter, Tesla used a modified design (see circuit) which he had developed in his New York lab in the period 1895–1898,[66] and patented in 1902,[67][68] different from his previous double-tuned circuits. In addition to the primary (L1) and secondary (L2) coils, it had a third coil (L3) which he called the "extra" coil, not magnetically coupled to the others, attached to the top terminal of the secondary.[62] When driven by the secondary it produced additional high voltage by resonance, being adjusted to resonate with its own parasitic capacitance (C2)[62] The use of a series-fed resonator coil to generate high voltages was independently discovered by Paul Marie Oudin in 1893 and employed in his Oudin coil.[69]

The Colorado Springs apparatus consisted of a 51-foot-diameter (15.5 m) Tesla transformer composed of a secondary winding (L2) of 50 turns of heavy wire wound on a 6-foot-high (2 m) circular wooden "fence" around the periphery of the lab, and a single-turn primary (L1) either mounted on the fence or buried in the ground under it.[70][71] The primary was connected to a bank of oil capacitors (C1) to make a tuned circuit, with a rotary spark gap (SG), powered by 20 to 40 kilovolts from a powerful utility step-up transformer (T). The top of the secondary was connected to the 100-turn 8 ft (2.4 m) diameter "extra" or "resonator" coil (L3) in the center of the room. Its high-voltage end was connected to a telescoping 143-foot (43.6 m) "antenna" rod with a 30-inch (1 m) metal ball on top which could project through the roof of the lab. By cranking the rod up or down he could adjust the capacitance in the circuit of the extra coil, tuning it to resonance with the rest of the circuit.[60]

Wardenclyffe tower

Wardenclyffe Tower wireless station, essentially a huge Tesla coil intended as a prototype transatlantic radiotelegraphy and wireless power transmitter, built by Tesla at Shoreham, NY, 1901-1902. It was never completed.
Design on which the Wardenclyffe plant was based, from Tesla's 1902 patent[67]

In 1901, convinced his wireless theories were correct, Tesla with financing from banker J. P. Morgan began construction of a high-voltage wireless station, now called the Wardenclyffe Tower, at Shoreham, New York.[48][72] Although it was built as a transatlantic radiotelegraphy station, Tesla also intended it to transmit electric power without wires as a prototype transmitter for his proposed "World Wireless System".[64][54] Essentially an enormous Tesla coil, it consisted of a powerhouse with a 400-horsepower generator and a 187-foot (57 m) tower topped by a 68-foot (21 m) diameter metal dome capacitive electrode.[64][73] The circuit he used was a version of the "magnifying transmitter" he built at Colorado Springs (above). Underneath the surface was an elaborate ground system that Tesla said was needed to "grip the earth" to create the oscillating earth currents which he believed would transmit the power.

By 1904 his investors had pulled out[54] and the facility was never completed; it was torn down in 1916.[49][64] Although Tesla seems to have believed his wireless power ideas were proven,[56] he had a history of making claims that he had not confirmed by experiment,[74][75][76] and there seems to be no evidence that he ever transmitted significant power beyond the short-range demonstrations mentioned above.[34][55][38][56][11][58][59][57] The few reports of long-distance power transmission by Tesla are not from reliable sources. For example, a widely repeated myth is that in 1899 he wirelessly lit 200 light bulbs at a distance of 26 miles (42 km).[55][56] There is no independent confirmation of this supposed demonstration;[55][56] Tesla did not mention it,[56] and it does not appear in his laboratory notes.[51][77] It originated in 1944 from Tesla's first biographer, John J. O'Neill,[41] who said he pieced it together from "fragmentary material... in a number of publications".[78]

In the 100 years since, others such as Robert Golka[70][79][80] have built equipment similar to Tesla's, but long-distance power transmission has not been demonstrated,[81][39][41][56] and the scientific consensus is his World Wireless system would not have worked.[82][37][38][49][56][75][57] Contemporary scientists point out that while Tesla's coils (with appropriate antennas) can function as radio transmitters, transmitting tiny amounts of energy in the form of radio waves, the frequency he used, around 150 kHz, is far too low for practical long-range power transmission.[38][56][58] At these wavelengths the radio waves spread out in all directions and cannot be focused on a distant receiver.[37][38][56][75] Tesla's world power transmission scheme remains today what it was in Tesla's time: a bold, fascinating dream.[49]

Use in radio

Powerful spark-gap transmitter, showing series spark gaps (horizontal cylindrical objects), Leyden jar capacitors (vertical cylinders, rear), and resonant transformer (top)
Spark transmitter circuit from Marconi's 1900 patent.[83] Its similarity to a Tesla coil can be seen; the only difference is the addition of a variable inductor (g) to tune the antenna (f) to resonance.[84][33]
"[The Tesla coil] was invented not for wireless but for making vacuum lamps glow without external electrodes, and it later played a principal part in other hands in the operation of big spark stations." --William H. Eccles, 1933[85]

One of the largest applications of the Tesla coil circuit was in early radio transmitters called spark gap transmitters. The first radio wave generators, invented by Heinrich Hertz in 1887, were spark gaps connected directly to antennas, powered by induction coils.[86][87][12] Because they lacked a resonant circuit, these transmitters produced highly damped radio waves. As a result, their transmissions occupied an extremely wide bandwidth of frequencies. When multiple transmitters were operating in the same area their frequencies overlapped and they interfered with one another, causing garbled reception. There was no way for a receiver to select one signal over another.[87][86]

In 1892 William Crookes, a friend of Tesla, had given a lecture[88] on the uses of radio waves in which he suggested using resonance to reduce the bandwidth in transmitters and receivers. By using resonant circuits, different transmitters could be "tuned" to transmit on different frequencies. With narrower bandwidth, separate transmitter frequencies would no longer overlap, so a receiver could receive a particular transmission by "tuning" its resonant circuit to the same frequency as the transmitter.[86][12][84] This is the system used in all modern radio.

With an appropriate wire antenna, the Tesla coil circuit could function as such a narrow-bandwidth radio transmitter.[89][14][65][90] In his March 1893 St. Louis lecture,[31] Tesla demonstrated a wireless system that was the first use of tuned circuits in radio, although he used it for wireless power transmission, not radio communication.[33][12][91][84][92][93] A grounded spark-excited capacitor-tuned Tesla transformer attached to an elevated wire antenna transmitted radio waves, which were received across the room by a wire antenna attached to a receiver consisting of a second grounded resonant transformer tuned to the transmitter's frequency, which lighted a Geissler tube.[94][86][84][93] This system, patented by Tesla on September 2, 1897,[35] was the first use of the "four-circuit" concept later claimed by Guglielmo Marconi.[95][93][33][92] However, Tesla was mainly interested in wireless power and never developed a practical radio communication system.[56][96][94][86] He never believed that radio waves could be used for practical communication, instead clinging to an erroneous theory that radio communication was due to currents in the Earth.[97]

Practical radiotelegraphy communication systems were developed by Marconi beginning in 1895. By 1897 the advantages of narrow-bandwidth (lightly damped) systems noted by Crookes were recognized, and resonant circuits, capacitors and inductors, were incorporated in transmitters and receivers.[91] The "closed primary, open secondary" resonant transformer circuit used by Tesla proved a superior transmitter,[92] because the loosely-coupled transformer partially isolated the oscillating primary circuit from the energy-radiating antenna circuit, reducing the damping, allowing it to produce long "ringing" waves which had a narrower bandwidth.[15][14][86][98] Versions of the circuit were patented by Marconi,[83][92] John Stone Stone[99] and Oliver Lodge,[100] and were widely used in radio for twenty years.[12][91][36][86][84] In 1906 Max Wien invented the quenched or "series" spark gap, which extinguished the spark after the energy had been transferred to the secondary, allowing the secondary to oscillate freely after that, reducing damping and bandwidth still more.

Although their damping had been reduced as much as possible, spark transmitters still produced damped waves which had a wide bandwidth, creating interference with other transmitters. Around 1920 they became obsolete, superseded by vacuum tube transmitters which generated continuous waves at a single frequency, which could also be modulated to carry sound. Tesla's resonant transformer continued to be used in vacuum tube transmitters and receivers, and is a key component in radio to this day.[101]

During the "spark era" the radio engineering profession gave credit to Tesla;[86] his circuit became known as the "Tesla coil" or "Tesla transformer".[12][14][102] However Tesla did not benefit financially, due to competing patent claims. Marconi had claimed rights to the "closed primary open secondary" transmitter circuit in his controversial 1900 "four circuit" wireless patent.[83][95][92][36][84] Tesla sued Marconi in 1915 for patent infringement, but didn't have the resources to pursue the action.[86][92][91][36] However, in 1943, in a separate suit brought by the Marconi Company against the US government for use of its patents in World War I, the US Supreme Court invalidated Marconi's 1900 patent claim to the "four circuit" concept.[103][12][36][84][104] The ruling cited the prior patents of Tesla, Lodge, and Stone,[86][12] but did not decide which of these parties had rights to the circuit.[36][92][84] By that time the issue was moot; the patent had expired in 1915 and spark transmitters had long been obsolete.

Although there is some disagreement over the role Tesla himself played in the invention of radio,[105][12][36][104] sources agree on the importance of his circuit in early radio transmitters.[84][106][65][90][92][86][101] From a modern perspective, most spark transmitters could be regarded as Tesla coils.[65][89]

Use in medicine

Small Tesla coil for electrotherapy, 1905. The Tesla transformer is immersed in a tank of oil for insulation to prevent arcs.
Effluvation treatment of knee with an Oudin coil (left), a high voltage transformer similar to a Tesla coil, 1915
Tesla electrotherapy coil manufactured by Adolphe Gaiffe, around 1900. The primary capacitor is in the box; the spark gap is mounted on top.
Treatment of cancer with an Oudin coil (left), 1910. The induction coil that powers the Oudin coil is behind the patient's head.
Combined Tesla / D'Arsonval / Oudin electrotherapy and x-ray outfit 1907
Electrotherapy treatment of diabetes with a vacuum electrode, 1922. The series spark gap is visible mounted on the front of the machine.
Longwave spark diathermy machine using Tesla circuit, 1921.
Diathermy of elbow 1945
Vacuum electrode "violet ray" wand in operation.
A violet ray wand, a handheld Tesla coil sold as a quack home medical device until about 1940. Said to cure everything from carbuncles to lumbago.
The three circuits used in electrotherapy apparatus in the early 20th century: (1) Tesla coil, (2) D'Arsonval coil, (3) Oudin coil. In medical coils for safety two capacitors (Leyden jars) were used, one in each branch of the primary circuit, to completely isolate the patient's body from the potentially lethal currents of the supply transformer, in case of an electrical fault.[107]

Tesla had observed as early as 1891 that high frequency currents above 100 kHz did not cause the sensation of electric shock, and in fact currents that would be lethal at lower frequencies could be passed through the body without apparent harm.[108][109] He experimented on himself, and claimed daily applications of high voltage relieved depression.[110] He was one of the first to observe the heating effect of high frequency currents on the body, the basis of diathermy.[111][112] During his highly publicized early 1890s demonstrations he passed hundreds of thousands of volts through his body.[32][28] With characteristic hyperbole he called electricity "the greatest of all doctors"[110] and suggested burying wires under classrooms so its stimulating effect would improve performance of "dull" schoolchildren.[112][113] Tesla wrote two pioneering papers, in 1891[114] and 1898[108][109] on the medical uses of high frequency currents, but did little further work on the subject.

A few other researchers were also experimentally applying high frequency currents to the body at this time.[115][116][117][2][118] Elihu Thomson, the co-inventor of the Tesla coil, was one, so in medicine the Tesla coil became known as the "Tesla-Thomson apparatus".[2] In France, from 1889 physician and pioneering biophysicist Jacques d'Arsonval had been documenting the physiological effects of high frequency current on the body, and had made the same discoveries as Tesla.[119][111][118] During his 1892 European trip Tesla met with D'Arsonval and was flattered to find they were using similar circuits. D'Arsonval's spark-excited resonant circuits (above) did not produce as high voltage as the Tesla transformer.[2] In 1893 French physician Paul Marie Oudin added a "resonator" coil to the D'Arsonval circuit to create the high voltage Oudin coil,[118][120] a circuit very similar to the Tesla coil, which was widely used for treating patients in Europe.[2]

During this period, people were fascinated by the new technology of electricity, and many believed it had miraculous curative or "vitalizing" powers.[121][122][123] Medical ethics were also looser, and doctors could experiment on their patients. By the turn of the century, application of high voltage, "high frequency" currents to the body had become part of a Victorian era medical field, part legitimate experimental medicine and part quack medicine,[109] called electrotherapy.[123][69][124] Manufacturers produced medical apparatus to generate "Tesla currents", "D'Arsonval currents", and "Oudin currents" for physicians. In electrotherapy, a pointed electrode attached to the high voltage terminal of the coil was held near the patient, and the luminous brush discharges from it (called "effluves") were applied to parts of the body to treat a wide variety of medical conditions. In order to apply the electrode directly to the skin, or tissues inside the mouth, anus or vagina, a "vacuum electrode" was used, consisting of a metal electrode sealed inside a partially evacuated glass tube, which produced a dramatic violet glow. The glass wall of the tube and the skin surface formed a capacitor which limited the current to the patient, preventing discomfort. These vacuum electrodes were later manufactured with handheld Tesla coils to make "violet ray" wands, sold to the public as a quack home medical device.[125][126]

The popularity of electrotherapy peaked after World War I,[111][123] but by the 1920s authorities began to crack down on fraudulent medical treatments, and electrotherapy largely became obsolete. A part of the field that survived was diathermy, the application of high frequency current to heat body tissue, pioneered by German physician Karl Nagelschmidt in 1907.[111][118] During the 1920s "long wave" (0.5~2 MHz) Tesla coil spark diathermy machines were used, in which the current was applied to the body by electrodes. By the 1930s these were being replaced by "short wave" (10~100 MHz) vacuum tube diathermy machines,[111][118] which had less danger of causing burns, but Tesla coils continued to be used in both diathermy[111] and quack medical devices like violet ray[125] until World War II. In 1926 William T. Bovie discovered that RF currents applied to a scalpel could cut and cauterize tissue in medical operations, and spark oscillators were used as electrosurgery generators or "Bovies" as late as the 1980s.[127]

During the 1920s and 30s all unipolar (single terminal) high voltage medical coils came to be called Oudin coils, so today's unipolar Tesla coils are sometimes referred to as "Oudin coils".[128]

Use in show business

"Electrice" sideshow performer being "electrocuted" 1914[129]
"Electrice" lighting a candle with brush discharge from her fingers.[129] The current came from the electric chair she is touching, which is connected to the Tesla coil in the background.
Evangelist Irwin Moon shooting "lightning bolts" from fingers, 1938.
Demonstrating 10 inch (25 cm) brush discharge from hand, 1913[130]
RF current from Tesla coil lights the bulb's filament as it passes through the wire to charge and discharge the performer's body, which acts as a capacitor plate.[130]
Turn-of-the-century sideshow performers did stunts with Tesla coils that would be considered extremely dangerous today.


The Tesla coil's spectacular displays of sparks, and the fact that its currents could pass through the human body without causing electric shock, led to its use in the entertainment business.

In the early 20th century it appeared in traveling carnivals, freak shows and circus and carnival sideshows, which often had an act in which a performer would pass high voltages through their body[32][131][129] [132][133] Performers such as "Dr. Resisto", "The Human Dynamo", "Electrice", "The Great Volta", and "Madamoiselle Electra" would have their body connected to the high voltage terminal of a hidden Tesla coil, causing sparks to shoot from their fingertips and other parts of their body, and neon lights and fluorescent tube lamps to light up when brought near them.[130][134][135] They could also light candles or cigarettes with their fingers.[129] Although they didn't usually cause electric shocks, RF arc discharges from the bare skin could cause painful burns; to prevent them performers sometimes wore metal thimbles on their fingertips[129] (Rev. Moon, center image above, is using them). These acts were extremely dangerous and could kill the performer if the Tesla coil was misadjusted.[132] In carny lingo this was called an "electric chair act" because it often included a spark-laced "electrocution" of the performer in an electric chair,[132][133] exploiting public fascination with this exotic new method of capital punishment, which had become the United States' dominant method of execution around 1900. Today entertainers still perform high voltage acts with Tesla coils,[136][137] but modern bioelectromagnetics has brought a new awareness of the hazards of Tesla coil currents, and allowing them to pass through the body is today considered extremely dangerous.

Tesla coils were also used as dramatic props in early mystery and science fiction motion pictures, starting in the silent era.[32] The crackling, writhing sparks emanating from the electrode of a giant Tesla coil became Hollywood's iconic symbol of the "mad scientist's" lab, recognized throughout the world.[138] This was probably because the eccentric Nikola Tesla himself, with his famous high voltage demonstrations and his mysterious Colorado Springs laboratory, was one of the main prototypes from which the "mad scientist" stock character originated.[138][139] Some early films in which Tesla coils appeared were Wolves of Kultur (1918), The Power God (1926), Metropolis (1927), Frankenstein (1931) and its many sequels such as Son of Frankenstein (1939), The Mask of Fu Manchu (1932), Chandu the Magician (1932), The Lost City (1935), and The Clutching Hand (1936)[140][32] and many later films and television shows. By the 1980s, effects like high voltage sparks were being added to movies by CGI as visual effects in post-production, eliminating the need for dangerous high voltage Tesla coils on sets.

The Tesla coils for many of these movies were constructed by Kenneth Strickfaden (1896-1984) who, beginning with his spectacular effects in the 1931 Frankenstein, became Hollywood's preeminent electrical special effects expert.[32][141] His large "Meg Senior" Tesla coil seen in many of these movies consisted of a 6-foot 1000 turn conical secondary and a 10 turn primary, connected to a capacitor through a rotary spark gap, powered by a 20 kV transformer.[141] It could produce 6 foot sparks. Some of his last gigs were the reassembly of the original 1931 Frankenstein high voltage apparatus for the Mel Brooks satire Young Frankenstein (1974), and construction of a million volt Tesla coil which produced 12 foot sparks for a 1976 stage show by the rock band Kiss.[140]

Use in education

Million volt Griffith Park Observatory coil, Los Angeles. Over 100 years old, it is one of the oldest working Tesla coils.
Demonstration of inductance with a Tesla coil, 1906.[142] RF current will not pass through the heavy copper wire because of the bend, and passes through the lamp instead.
Small educational Tesla coil kit, 1918

Ever since Tesla's 1890s lectures, Tesla coils have been used as attractions in educational exhibits and science fairs. They have become a way to counter the stereotype that science is boring.[143] In the early 20th century, experts like Henry Transtrom and Earle Ovington gave high voltage demonstrations at "electric fairs".[130] High school classes built Tesla coils.

From 1933 into the 1980s, between movie jobs Hollywood special effects expert Ken Strickfaden would take his high voltage apparatus on the road in an exhibition called "Science on Parade" and later "The Kenstric Space Age Science Show" to high schools, colleges, World Fairs and expositions.[143] These spectacular shows, which reached 48 states, had a seminal influence on the birth of the modern "coiling" movement.[140] A number of present-day Tesla hobbyists such as William Wysock say they were inspired to build Tesla coils by seeing Strickfaden's show.[143]

One of the oldest and best-known coils still in operation is the "GPO-1" at Griffith Observatory in Los Angeles. It was originally one of a pair of coils built in 1910 by Earle L. Ovington, a friend of Tesla and manufacturer of high voltage electrotherapy apparatus.[144][32] For a number of years Ovington displayed them at the December electrical trade show at Madison Square Garden in New York City, using them for demonstrations of high voltage science, which Tesla himself sometimes attended.[32] Called the Million Volt Oscillator, the twin coils were installed on the balcony at the show. Every hour the lights were dimmed and the public was treated to a display of 10 foot arcs. Ovington gave the coils to his friend Dr. Frederick Finch Strong, whose work focused on electrotherapy as an alternative health treatment. In 1937 Strong donated the coils to the Griffith Observatory. The museum didn't have room to display both, but one coil was restored by Kenneth Strickfaden and has been in daily operation ever since.[32] It consists of a 48 in. (1.2 m) high conical secondary coil topped by a 12 in. (30 cm) diameter copper ball electrode, with a 9-turn spiral primary of 2 in. copper strip, a glass plate capacitor (replacing the original Leyden jars), and rotary spark gap.[144] Its output has been estimated at 1.3 million volts.

Later uses

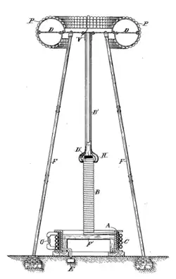
Breit and Tuve's 5 MV Tesla coil used as particle accelerator, 1928

In addition to its use in spark-gap radio transmitters and electrotherapy described above, the Tesla coil circuit was also used in the early 20th century in x-ray machines, ozone generators for water purification, and induction heating equipment. However, in the 1920s vacuum tube oscillators replaced it in all these applications.[89] The triode vacuum tube was a much better radio frequency current generator than the noisy, hot, ozone-producing spark, and could produce continuous waves. After this, industrial use of the Tesla coil was mainly limited to a few specialized applications which were suited to its unique characteristics, such as high voltage insulation testing.

In 1926, pioneering accelerator physicists Merle Tuve and Gregory Breit built a 5 million volt Tesla coil as a linear particle accelerator.[145][146][147] The bipolar coil consisted of a pyrex tube a meter long wound with 8000 turns of fine wire, with round corona caps on each end, and a 5 turn spiral primary coil surrounding it at the center. It was operated in a tank of insulating oil pressurized to 500 psi which allowed it to reach a potential of 5.2 megavolts. Although it was used for a short period in 1929-30 it was not a success because the particles' acceleration had to be completed within the brief period of a half cycle of the RF voltage.

In 1970 Robert K. Golka built a replica of Tesla's huge Colorado Springs magnifying transmitter in a shed at Wendover Air Force Base, Utah, using data he found in Tesla's lab notes archived at the Nikola Tesla Museum in Belgrade, Serbia.[70][79] [80][148] This was one of the first experiments with the magnifier circuit since Tesla's time. The coil generated 12 million volts. Golka used it to try to duplicate Tesla's reported synthesis of ball lightning.

References

  1. ^ a b Thomson, Elihu (November 3, 1899). "Apparatus for obtaining high frequencies and pressures". The Electrician. 44 (2): 40–41. Retrieved May 1, 2015.
  2. ^ a b c d e f g Strong, Frederick Finch (1908). High Frequency Currents. New York: Rebman Co. pp. 41–42. tesla Oudin d'arsonval elihu thomson Rowland.
  3. ^ a b Tesla, Nikola (March 29, 1899). "Some experiments in Tesla's laboratory with currents of high frequencies and pressures". Electrical Review. 34 (13): 193–197. Retrieved November 30, 2015. p. 196-197 and fig. 2: Tesla describes the steps in his invention of the high frequency transformer.
  4. ^ a b Denicolai, 2001, Tesla Transformer for Experimentation and Research, Ch.1, p. 1-6
  5. ^ a b U.S. Patent No. 454,622, Nikola Tesla, SYSTEM OF ELECTRIC LIGHTING, filed 25 April 1891; granted 23 June 1891
  6. ^ a b c The lecture "Experiments with Alternate Currents of Very High Frequency and Their Application to Methods of Artificial Illumination" is reprinted in Martin, Thomas Cummerford (1894). The Inventions, Researches and Writings of Nikola Tesla: With Special Reference to His Work in Polyphase Currents and High Potential Lighting, 2nd Ed. The Electrical Engineer. pp. 145–197. The Tesla coil circuit is shown p. 193, fig. 127
  7. ^ The lecture is reprinted in Tesla, Nikola (2007). The Nikola Tesla Treasury. Wilder Publications. pp. 68–107. ISBN 978-1934451892. The Tesla coil illustration is shown p. 103, fig. 32
  8. ^ a b c d e f g h Sarkar, T. K.; Mailloux, Robert; Oliner, Arthur A.; et al. (2006). History of Wireless. John Wiley and Sons. pp. 268–270. ISBN 978-0471783015., archive Archived 2016-05-17 at the Portuguese Web Archive
  9. ^ a b Thomson, Elihu (February 20, 1892). "Induction by high potential discharges". Electrical World. 19 (8): 116–117. Retrieved November 21, 2015.
  10. ^ Aitken, Hugh G.J. (2014). Syntony and Spark: The Origins of Radio. Princeton Univ. Press. pp. 23–25, 31–36. ISBN 978-1400857883.
  11. ^ a b c d e f g Carlson, W. Bernard (2013). Tesla: Inventor of the Electrical Age. Princeton University Press. pp. 119–125. ISBN 978-1400846559.
  12. ^ a b c d e f g h i j Uth, Robert (1999). Tesla, Master of Lightning. Barnes and Noble Publishing. pp. 65–70. ISBN 978-0760710050.
  13. ^ a b c d "Tesla is entitled to either distinct priority or independent discovery of" three concepts in wireless theory: "(1) the idea of inductive coupling between the driving and the working circuits (2) the importance of tuning both circuits, i.e. the idea of an 'oscillation transformer' (3) the idea of a capacitance loaded open secondary circuit" Wheeler, L. P. (August 1943). "Tesla's contribution to high frequency". Electrical Engineering. 62 (8): 355–357. doi:10.1109/EE.1943.6435874. ISSN 0095-9197. S2CID 51671246.
  14. ^ a b c d e Pierce, George Washington (1910). Principles of Wireless Telegraphy. New York: McGraw-Hill Book Co. pp. 93–95. tesla elihu thomson.
  15. ^ a b c d e Fleming, John Ambrose (1910). The Principles of Electric Wave Telegraphy and Telephony, 2nd Ed. London: Longmans, Green and Co. pp. 581–582.
  16. ^ W. Bernard Carlson, Tesla: Inventor of the Electrical Age, Princeton University Press - 2013, page 122
  17. ^ W. Bernard Carlson, Tesla: Inventor of the Electrical Age, Princeton University Press - 2013, page 124
  18. ^ a b "Tesla's system of electric power transmission through natural media". The Electrical Review. 43 (1094): 709. November 11, 1898. Retrieved August 7, 2015.
  19. ^ Tesla stated in Nikola Tesla My Inventions - Ch. 5: The Magnifying Transmitter, Electrical Experimenter, Vol. 7, No. 2, June 1919, p. 112, that this picture showed a prototype of his magnifying transmitter, a smaller version of the apparatus installed in his Colorado Springs lab.
  20. ^ Tesla, Nikola (July 1919). "Electrical Oscillators" (PDF). Electrical Experimenter. 7 (3): 228–229, 259–260. Retrieved August 20, 2015.
  21. ^ "Transformer". Encyclopaedia Britannica, 10th Ed. Vol. 33. The Encyclopaedia Britannica Co. 1903. p. 426. Retrieved May 1, 2015.
  22. ^ Thomson, Elihu (April 1893). "High Frequency Electric Induction". Technology Quarterly and Proceedings of Society of Arts. 6 (1): 50–59. Retrieved November 22, 2015.
  23. ^ Thomson, Elihu (July 23, 1906). "Letter to Frederick Finch Strong". The Electrotherapy Museum website. Jeff Behary, Bellingham, Washington, USA. Reproduced by permission of The American Philosophical Society. Retrieved August 20, 2015. In this letter Thomson lists papers he published in technical journals which support his claim to priority in inventing the "Tesla coil" resonant transformer circuit
  24. ^ Fessenden, Reginald A. (August 1908). "Wireless Telephony". Telephony. 16 (2): 75. Retrieved May 2, 2015.
  25. ^ "The length of the...coil in each transformer should be approximately one quarter of the wave length of the electric disturbance in the circuit, this estimate being based on the velocity of propagation of the disturbance through the coil itself..." US Patent No. 645576, Nikola Tesla, System of transmission of electrical energy, filed September 2, 1897; granted March 20, 1900
  26. ^ Oberbeck, A. (1895). "Ueber den Verlauf der electrischen Schwingungen bei den Tesla'schen Versuchen (On the electrical oscillations in Tesla's experiments)". Annalen der Physik. 291 (8): 623–632. Bibcode:1895AnP...291..623O. doi:10.1002/andp.18952910808.
  27. ^ Drude, P. (February 1904). "Über induktive Erregung zweier elektrischer Schwingungskreise mit Anwendung auf Periodenund Dämpfungsmessung, Teslatransformatoren und drahtlose Telegraphie (Of inductive excitation of two electric resonant circuits with application to measure-ment of oscillation periods and damping, Tesla coils, and wireless telegraphy)". Annalen der Physik. 13 (3): 512–561. Bibcode:1904AnP...318..512D. doi:10.1002/andp.18943180306. ISSN 1521-3889., English translation
  28. ^ a b c d e Carlson, W. Bernard (2013). Tesla: Inventor of the Electrical Age. Princeton University Press. pp. 133–138. ISBN 978-1400846559.
  29. ^ a b A description of Tesla's wireless lighting demonstration at the Westinghouse exhibit at the 1893 Columbian Exposition in St. Louis is found in Barrett, John Patrick (1894). Electricity at the Columbian Exposition; Including an Account of the Exhibits in the Electricity Building, the Power Plant in Machinery Hall. R. R. Donnelley. pp. 168–169. Retrieved 29 November 2010.
  30. ^ Thomas Cummerford Martin 1894 The Inventions, Researches and Writings of Nikola Tesla, 2nd Ed., p. 198-293
  31. ^ a b "On light and other high frequency phenomena", Thomas Cummerford Martin 1894 The Inventions, Researches and Writings of Nikola Tesla, 2nd Ed., p. 294-373
  32. ^ a b c d e f g h i Goldman, Harry (2005). Kenneth Strickfaden, Dr. Frankenstein's Electrician. McFarland. pp. 77–83. ISBN 978-0786420643.
  33. ^ a b c d Sterling, Christopher H. (2013). Biographical Encyclopedia of American Radio. Routledge. pp. 382–383. ISBN 978-1136993756.
  34. ^ a b c d e The longest Tesla wireless power transmission for which there is credible evidence is probably his 1899 picture of a receiving coil with a 10 watt light bulb lit by power transmitted from his 300,000 watt magnifying transmitter. Tesla did not give the distance, but Marincic has claimed Tesla's lab notes indicate it was at a distance of 1,938 feet (591 m) from the transmitter. Tesla, Nikola; Marincic, Aleksandar; Popovic, Vojin; Ciric, Milan (2008). From Colorado Springs to Long Island : research notes : Colorado Springs 1899-1900, New York 1900-1901. Belgrade: Nikola Tesla Museum. p. 169. ISBN 9788681243442. This represents a transmission efficiency of only 0.0033%.
  35. ^ a b c d US Patent No. 645576, Nikola Tesla, System of transmission of electrical energy, filed September 2, 1897; granted March 20, 1900
  36. ^ a b c d e f g h i Lee, Thomas H. (2004). The Design of CMOS Radio-Frequency Integrated Circuits. Cambridge Univ. Press. pp. 37–39. ISBN 978-0521835398.
  37. ^ a b c Curty, Jari-Pascal; Declercq, Michel; Dehollain, Catherine; Joehl, Norbert (2006). Design and Optimization of Passive UHF RFID Systems. Springer. p. 4. ISBN 978-0387447100.
  38. ^ a b c d e f g Shinohara, Naoki (2014). Wireless Power Transfer via Radiowaves. John Wiley & Sons. p. 11. ISBN 978-1118862964.
  39. ^ a b c d e f g Lee, C.K.; Zhong, W.X.; Hui, S.Y.R. (September 5, 2012). Recent Progress in Mid-Range Wireless Power Transfer (PDF). The 4th Annual IEEE Energy Conversion Congress and Exposition (ECCE 2012). Raleigh, North Carolina: Inst. of Electrical and Electronic Engineers. pp. 3819–3821. Retrieved November 4, 2014.
  40. ^ a b Tesla, Nikola (May 20, 1891) Experiments with Alternate Currents of Very High Frequency and Their Application to Methods of Artificial Illumination, lecture before the American Inst. of Electrical Engineers, Columbia College, New York. Reprinted as a book of the same name by. Wildside Press. 2006. ISBN 978-0809501625.
  41. ^ a b c Cheney, Margaret (2011). Tesla: Man Out of Time. Simon and Schuster. p. 87. ISBN 978-1-4516-7486-6.
  42. ^ Tesla was notoriously secretive about the distance he could transmit power. One of his few disclosures of details was in the caption of fig. 7 of his noted magazine article: The Problem of Increasing Human Energy, Century magazine, June 1900. The caption reads: "EXPERIMENT TO ILLUSTRATE AN INDUCTIVE EFFECT OF AN ELECTRICAL OSCILLATOR OF GREAT POWER - The photograph shows three ordinary incandescent lamps lighted to full candle-power by currents induced in a local loop consisting of a single wire forming a square of fifty feet each side, which includes the lamps, and which is at a distance of one hundred feet from the primary circuit energized by the oscillator. The loop likewise includes an electrical condenser, and is exactly attuned to the vibrations of the oscillator, which is worked at less than five percent of its total capacity."
  43. ^ Leyh, G. E.; Kennan, M. D. (September 28, 2008). Efficient wireless transmission of power using resonators with coupled electric fields (PDF). NAPS 2008 40th North American Power Symposium, Calgary, September 28–30, 2008. Inst. of Electrical and Electronic Engineers. pp. 1–4. doi:10.1109/NAPS.2008.5307364. ISBN 978-1-4244-4283-6. Archived from the original (PDF) on March 4, 2016. Retrieved November 20, 2014.
  44. ^ Sazonov, Edward; Neuman, Michael R (2014). Wearable Sensors: Fundamentals, Implementation and Applications. Elsevier. pp. 253–255. ISBN 978-0124186668.
  45. ^ Agbinya, Johnson I. (February 2013). "Investigation of near field inductive communication system models, channels, and experiments" (PDF). Progress in Electromagnetics Research B. 49: 130. doi:10.2528/PIERB12120512. Archived from the original (PDF) on August 3, 2016. Retrieved January 2, 2015.
  46. ^ Bolic, Miodrag; Simplot-Ryl, David; Stojmenovic, Ivan (2010). RFID Systems: Research Trends and Challenges. John Wiley & Sons. p. 29. ISBN 978-0470975664.
  47. ^ Tesla, Nikola (June 1900). "The Problem of Increasing Human Energy". Century Magazine. Retrieved November 20, 2014.
  48. ^ a b c Tesla, Nikola (March 5, 1904). "The Transmission of Electric Energy Without Wires". Electrical World and Engineer. 43: 23760–23761. Retrieved November 19, 2014., reprinted in Scientific American Supplement, Munn and Co., Vol. 57, No. 1483, June 4, 1904, p. 23760-23761
  49. ^ a b c d Broad, William J. (May 4, 2009). "A Battle to Preserve a Visionary's Bold Failure". New York Times. New York. pp. D1. Retrieved November 19, 2014.
  50. ^ Carlson 2013 Tesla: Inventor of the Electrical Age, p. 209-210
  51. ^ a b c Cheney, Margaret (2011) Tesla: Man Out of Time, p. 187–189
  52. ^ a b Sewall, Charles Henry (1903). Wireless telegraphy: its origins, development, inventions, and apparatus. D. Van Nostrand Co. pp. 38–42. Tesla.
  53. ^ Tesla, Nikola (March 8, 1907). "Tuned Lightning". English Mechanic and World of Science. Retrieved October 18, 2015., reprinted in Tesla, Nikola (2012). The Nikola Tesla Treasury. Start Publications LLC. p. 526. ISBN 978-1627932561.
  54. ^ a b c Carlson 2013 Tesla: Inventor of the Electrical Age, p. 337-346
  55. ^ a b c d Cheney, Margaret; Uth, Robert; Glenn, Jim (1999). Tesla, Master of Lightning. Barnes & Noble Publishing. pp. 90–92. ISBN 978-0760710050.
  56. ^ a b c d e f g h i j k l Coe, Lewis (2006). Wireless Radio: A History. McFarland. pp. 111–113. ISBN 978-0786426621.
  57. ^ a b c Cooper, Christopher (2015). The Truth About Tesla: The Myth of the Lone Genius in the History of Innovation. Race Point Publishing. pp. 171–172. ISBN 978-1631060304.
  58. ^ a b c Brown, William C. (1984). "The history of power transmission by radio waves". IEEE Transactions on Microwave Theory and Techniques. 32 (9): 1230–1234. Bibcode:1984ITMTT..32.1230B. doi:10.1109/tmtt.1984.1132833. Retrieved November 20, 2014.
  59. ^ a b "Life and Legacy: Colorado Springs". Tesla: Master of Lightning - companion site for 2000 PBS television documentary. PBS.org, Public Broadcasting Service website. 2000. Retrieved November 19, 2014.
  60. ^ a b c Carlson 2013 Tesla: Inventor of the Electrical Age, p. 297–299
  61. ^ Denicolai, 2001, Tesla Transformer for Experimentation and Research, Ch.2, p. 8-10
  62. ^ a b c d e Sarkar et al. (2006) History of Wireless, p. 279-280, archive Archived 2016-05-17 at the Portuguese Web Archive
  63. ^ Nikola Tesla On His Work With Alternating Currents and Their Application to Wireless Telegraphy, Telephony, and Transmission of Power, Leland I. Anderson, 21st Century Books, 2002, p. 109, ISBN 1-893817-01-6.
  64. ^ a b c d Tesla, Nikola (June 1919). "My Inventions V. - The Magnifying Transmitter" (PDF). Electrical Experimenter. 7 (2): 112. Retrieved August 8, 2015., reprinted in Nikola Tesla, My Inventions, The Philovox, 1919, Ch. 5 republished as Tesla, Nikola (2007). My Inventions: The Autobiography of Nikola Tesla. Wilder Publications. pp. 53–16. ISBN 978-1934451779.
  65. ^ a b c d e Sprott, Julien C. (2006). Physics Demonstrations: A Sourcebook for Teachers of Physics. Univ. of Wisconsin Press. pp. 192–195. ISBN 978-0299215804.
  66. ^ My Inventions: The Autobiography of Nikola Tesla, Hart Brothers, 1982, Ch. 5, ISBN 0-910077-00-2
  67. ^ a b US Patent No. 1119732, Nikola Tesla Apparatus for transmitting electrical energy, filed January 18, 1902; granted December 1, 1914
  68. ^ Gerekos, 2012, The Tesla Coil, p. 19-20 Archived June 23, 2007, at the Wayback Machine
  69. ^ a b Martin, James M. (1912). Practical electro-therapeutics and X-ray therapy. C.V. Mosby Co. pp. 187–192. Tesla D'Arsonval Oudin.
  70. ^ a b c Shunamen, Fred (June 1976). "12 Million Volts" (PDF). Radio-Electronics. 47 (6): 32–34, 69. Retrieved September 4, 2015.
  71. ^ Carlson 2013 Tesla: Inventor of the Electrical Age, p. 267–268
  72. ^ Sarkar, T. K.; Mailloux, Robert; Oliner, Arthur A.; et al. (2006). History of Wireless. John Wiley and Sons. p. 283. ISBN 978-0471783015., archive Archived 2016-05-17 at the Portuguese Web Archive
  73. ^ Carlson 2013 Tesla: Inventor of the Electrical Age, p. 318-327
  74. ^ Hawkins, Lawrence A. (February 1903). "Nikola Tesla: His Work and Unfulfilled Promises". The Electrical Age. 30 (2): 107–108. Retrieved November 4, 2014.
  75. ^ a b c "Dennis Papadopoulos interview". Tesla: Master of Lightning - companion site for 2000 PBS television documentary. PBS.org, Public Broadcasting Service website. 2000. Retrieved November 19, 2014.
  76. ^ Carlson, W. Bernard (2013). Tesla: Inventor of the Electrical Age. Princeton University Press. pp. 294, 300–301. ISBN 978-1400846559.
  77. ^ Tesla, Nikola (1977). Marinčić, Aleksandar (ed.). Colorado Springs Notes, 1899-1900. Belgrade, Yugoslavia: The Nikola Tesla Museum.
  78. ^ O'Neill, John J. (1944). Prodigal Genius: The life of Nikola Tesla. Ives Washburn, Inc. p. 193.
  79. ^ a b Golka, Robert K. (February 1981). "Project Tesla - In Search of an Answer to Our Energy Needs". Radio-Electronics. 52 (2): 47–49. Retrieved September 4, 2015.
  80. ^ a b Lawren, Bill (March 1988). "Rediscovering Tesla". Omni Magazine. 10 (6): 64–66, 68, 116–117. Retrieved September 4, 2015.
  81. ^ For example, using Tesla coils Leyh and Kennan only achieved 1.5% power throughput at a distance of 30 meters, only 5 times the transmitter diameter. Leyh, G. E.; Kennan, M. D. (September 28, 2008). Efficient wireless transmission of power using resonators with coupled electric fields (PDF). NAPS 2008 40th North American Power Symposium, Calgary, September 28–30, 2008. Inst. of Electrical and Electronic Engineers. pp. 1–4. doi:10.1109/NAPS.2008.5307364. ISBN 978-1-4244-4283-6. Archived from the original (PDF) on March 4, 2016. Retrieved November 20, 2014.
  82. ^ Belohlavek, Peter; Wagner, John W (2008). Innovation: The Lessons of Nikola Tesla. Blue Eagle Group. pp. 78–79. ISBN 978-9876510097.
  83. ^ a b c US Patent no. 763,772, Guglielmo Marconi, Apparatus for wireless telegraphy, filed: November 10, 1900, granted: June 28, 1904. Corresponding British patent no. 7777, Guglielmo Marconi, Improvements in apparatus for wireless telegraphy, filed: April 26, 1900, granted: April 13, 1901
  84. ^ a b c d e f g h i Rockman, Howard B. (2004). Intellectual Property Law for Engineers and Scientists. John Wiley and Sons. pp. 196–199. ISBN 978-0471697398.
  85. ^ Eccles, William H. (1933). Wireless. T. Butterworth, Ltd. p. 80. quoted in Sarkar, Mailloux, Oliner (2006) History of Wireless, p. 268. Eccles was a contemporary of Tesla.
  86. ^ a b c d e f g h i j k Sarkar et al (2006) History of Wireless, p. 352-353, 355-357, archive Archived 2016-05-17 at the Portuguese Web Archive
  87. ^ a b Aitken, Hugh 2014 Syntony and Spark: The origins of radio, p. 70–73
  88. ^ Crookes, William (February 1, 1892). "Some Possibilities of Electricity". The Fortnightly Review. 51: 174–176. Archived from the original on September 29, 2018. Retrieved August 19, 2015.
  89. ^ a b c Tilbury, Mitch (2007). The Ultimate Tesla Coil Design and Construction Guide. New York: McGraw-Hill Professional. p. 1. ISBN 978-0-07-149737-4.
  90. ^ a b Uth, Robert (December 12, 2000). "Tesla coil". Tesla: Master of Lightning. PBS.org. Retrieved 2008-05-20.
  91. ^ a b c d Aitken, Hugh 2014 Syntony and Spark: The origins of radio, p. 254-255, 259
  92. ^ a b c d e f g h Klooster, John W. (2007). Icons of Invention. ABC-CLIO. pp. 160–161. ISBN 978-0313347436.
  93. ^ a b c Cheney, Margaret (2011) Tesla: Man Out Of Time, p. 96–97
  94. ^ a b Regal, Brian (2005). Radio: The Life Story of a Technology. Greenwood Publishing Group. pp. 21–23. ISBN 978-0313331671.
  95. ^ a b The "four circuit" radio system, which Marconi claimed in his 1900 patent, meant a transmitter and receiver which each contained a resonant transformer and thus were divided into primary and secondary circuits. All four circuits were tuned to the same frequency, one side by capacitors, and the other side by the capacitance of the antenna; "the use of two high frequency circuits in the transmitter and two in the receiver, all four so adjusted to be resonant at the same frequency or multiples of it.""No. 369 (1943) Marconi Wireless Co. of America v. United States". United States Supreme Court decision. Findlaw.com website. June 21, 1943. Retrieved March 14, 2017. This was identical to the system Tesla demonstrated in 1893. The advantage of this system was that due to the resonant transformers both the receiver and transmitter had much narrower bandwidth than previous circuits.
  96. ^ Smith, Craig B. (2008). Lightning: Fire from the Sky. Dockside Consultants Inc. ISBN 978-0-615-24869-1.
  97. ^ Tesla, Nikola (May 1919). "The True Wireless" (PDF). Electrical Experimenter. 7 (1): 28–30, 61. Retrieved February 20, 2017. archived on tfcbooks
  98. ^ Marconi describes his discovery of this principle, and admits his circuit used the "Tesla coil", in Marconi, Guglielmo (May 24, 1901). "Syntonic Wireless Telegraphy". The Electrician. Retrieved April 8, 2017.
  99. ^ US Patent no. 714,756, John Stone Stone Method of electric signaling, filed: February 8, 1900, granted: December 2, 1902
  100. ^ US Patent no. 609,154 Oliver Joseph Lodge, Electric Telegraphy, filed: February 1, 1898, granted: August 16, 1898
  101. ^ a b "Unfortunately, the common misunderstanding by most people today is that the Tesla coil is merely a device that produces a spectacular exhibit of sparks which tittilates audiences. Nevertheless, its circuitry is fundamental to all radio transmission" Belohlavek, Peter; Wagner, John W (2008). Innovation: The Lessons of Nikola Tesla. Blue Eagle Group. p. 110. ISBN 978-9876510097.
  102. ^ Mazzotto, Domenico (1906). Wireless telegraphy and telephony. Whittaker and Co. p. 146.
  103. ^ "No. 369 (1943) Marconi Wireless Co. of America v. United States". United States Supreme Court decision. Findlaw.com website. June 21, 1943. Retrieved March 14, 2017.
  104. ^ a b Sarkar, T. K.; Mailloux, Robert; Oliner, Arthur A.; et al. (2006). History of Wireless. John Wiley & Sons. pp. 286, 84. ISBN 978-0-471-78301-5., archive Archived 2016-05-17 at the Portuguese Web Archive
  105. ^ White, Thomas H. (November 1, 2012). "Nikola Tesla: The Guy Who DIDN'T "Invent Radio"". United States Early Radio History. T. H. White's personal website. Retrieved November 7, 2016.
  106. ^ Gerekos, 2012, The Tesla Coil, p. 1
  107. ^ Manders, Horace (August 1, 1902). "Some phenomena of high frequency currents". Journal of Physical Therapeutics. 3 (1): 220–221. Retrieved December 2, 2014.
  108. ^ a b Tesla, Nikola (November 17, 1898). "High frequency oscillators for electro-therapeutic and other purposes". The Electrical Engineer. 26 (550): 477–481. Retrieved June 10, 2015. Also read at the 8th annual meeting of The American Electro-Therapeutic Association, Buffalo, New York, Sept. 13-15, 1898
  109. ^ a b c Rhees, David J. (July 1999). "Electricity - "The greatest of all doctors": An introduction to "High Frequency Oscillators for Electro-therapeutic and Other Purposes"". Proceedings of the IEEE. 87 (7): 1277–1281. doi:10.1109/jproc.1999.771078.
  110. ^ a b Carlson 2013 Tesla: Inventor of the Electrical Age, p. 217
  111. ^ a b c d e f Kovács, Richard (1945). Electrotherapy and Light Therapy, 5th Ed. Philadelphia: Lea and Febiger. pp. 187–188, 197–200.
  112. ^ a b Cheney (2011) Tesla:Man Out of Time, p. 103
  113. ^ Gilliams, E. Leslie (December 1912). "Tesla's Plan Of Electrically Treating School Children". Popular Electricity: 813–814. Retrieved April 30, 2016.
  114. ^ Tesla, N. "High frequency currents for medical purposes" in Electrical Engineer, 1891, cited in Saberton, Claude (1920) Diathermy in Medical and Surgical Practice, published by Paul B. Hoeber, New York, p. 131
  115. ^ Morton, W. J. (January 17, 1893). "A brief glance at electricity in medicine". Transactions of the American Inst. Of Electrical Engineers: 576–578. Retrieved September 21, 2015.
  116. ^ Batten, George B. (October 15, 1926). "President's Address" (PDF). Proc. of the Royal Society of Medicine - Electro-therapeutics Section. 20 (1): 33–34. PMC 2100469. PMID 19985436. Retrieved September 22, 2015.
  117. ^ Williams, Chisolm (1903). High Frequency Currents in the Treatment of Some Diseases. London: Rebman, Ltd. pp. 8–9. tesla d'arsonval Oudin.
  118. ^ a b c d e Ho, Mae-Wan; Popp, Fritz Albert; Warnke, Ulrich (1994). Bioelectrodynamics and Biocommunication. World Scientific. pp. 10–11. ISBN 978-9810216658.
  119. ^ D'Arsonval, A. (August 1893). "Physiological action of currents of great frequency". Modern Medicine and Bacteriological World. 2 (8): 200–203. Retrieved November 22, 2015., translated by J. H. Kellogg
  120. ^ Martin, James M. (1912). Practical electro-therapeutics and X-ray therapy. C.V. Mosby Co. p. 189. Oudin coil., p.189 fig. 98
  121. ^ Morus, Iwan Rhys (2011). Shocking Bodies: Life, Death & Electricity in Victorian England. The History Press. pp. 8–11. ISBN 978-0752463810.
  122. ^ Strong, Frederick Finch (1908) High-Frequency Currents, p. 220-223
  123. ^ a b c De la Peña, Carolyn Thomas (2005). The Body Electric: How Strange Machines Built the Modern American. NYU Press. pp. 98–100. ISBN 978-0814719831.
  124. ^ Morton, William J. (December 27, 1902). "Recent advances in electrotherapeutics". The Medical News. 81 (26): 1201–1202. Retrieved September 5, 2015.
  125. ^ a b Behary, Jeff (1997). "Violet Ray Misconceptions". The Electrotherapy Museum. Jeff Behary's website. Archived from the original on July 10, 2011. Retrieved October 13, 2015.
  126. ^ The small high voltage coils in these home violet ray wands resembled induction coils more than Tesla coils; they had iron core transformers and mechanical interrupters and produced lower voltages, 30 - 80 kV, than Tesla coils
  127. ^ Carr, Joseph J. (May 1990). "Early radio transmitters" (PDF). Popular Electronics. 7 (5): 43–46. Retrieved 21 March 2018.
  128. ^ Behary, Jeff (1 July 2007). "RE: Oudin coil". Tesla Coil Mailing List (Mailing list). Retrieved 16 November 2015.
  129. ^ a b c d e Electrice (1914). "Doing and Daring for the Public's Pleasure". Popular Electricity. 6 (9): 1044–1046. Retrieved October 3, 2015.
  130. ^ a b c d Many of these stunts are demonstrated and explained in Transtrom, Henry L. (1913). Electricity at high pressures and frequencies. Joseph G. Branch Publishing Co. pp. 189–207.
  131. ^ Madamoiselle Electra (October 1911). "How I Give the Public Electric Thrills". Popular Electricity. 4 (6): 507–510. Retrieved September 25, 2015.
  132. ^ a b c Gangi, Tony (2010). Carny Sideshows. Kensington Publishing. p. 206. ISBN 978-0806535982.
  133. ^ a b Nickell, Joe (2005). Secrets of the Sideshows. University Press of Kentucky. pp. 248–249. ISBN 978-0813137377.
  134. ^ H.F.S. (May 1911). "Electricity in Vaudville". Popular Electricity and the World's Advance. 4 (1): 170–171. Retrieved 28 September 2017.
  135. ^ A lyrical description of such a performer appears in science fiction writer Ray Bradbury's 1962 novel Something Wicked This Way Comes. Avon Books. 2013-04-23. ISBN 978-0062242174.. Bradbury has said that this was based on a real performer, Mr. Electrico, part of a seedy traveling carnival, whom he met as a boy in 1932 in Waukegan, Illinois. Bradbury, Ray (December 2001) In his words blog, Ray Bradbury personal website Archived 2012-06-16 at the Wayback Machine and Weller, Sam (Spring 2010) "Ray Bradbury interview, The Art of Fiction No. 203", The Paris Review, No. 192, published by Antonio Weiss, New York.
  136. ^ Danielle Stamp AKA 'Miss Electra' Ripley's Believe It Or Not! Curioddities. Scholastic, Inc. 2011. pp. 60–61. ISBN 978-0545316545.
  137. ^ Richards, Austin (2015). "Dr. Megavolt". Personal Website. High Voltage Entertainment, Inc. Retrieved October 21, 2015.
  138. ^ a b Skal, David J. (1998). Screams of Reason: Mad Science and Modern Culture. W. W. Norton and Co. pp. 89–90. ISBN 978-0393045826.
  139. ^ Van Riper, A. Bowdoin (2011). A Biographical Encyclopedia of Scientists and Inventors in American Film and TV since 1930. Scarecrow Press. p. 150. ISBN 978-0-8108-8128-0.
  140. ^ a b c William Luddington, "Mr. Electricity: The Multi-Volted Career of Kenneth Strickfaden" in Tibbetts, John C.; Welsh, James M., Ed. (2010). American Classic Screen Profiles. Scarecrow Press. pp. 202–208. ISBN 978-0810876774.{{cite book}}: CS1 maint: multiple names: authors list (link)
  141. ^ a b Hanson, Eugene M. (September 1949). "High-Voltage Magic". Popular Mechanics. 92 (3): 140–142. Retrieved October 1, 2015.
  142. ^ Collins, Archie Frederick (January 27, 1906). "High-Potential Discharges". Scientific American. 94 (4): 92–93. doi:10.1038/scientificamerican01271906-92. Retrieved December 15, 2016.
  143. ^ a b c Goldman (2005) Kenneth Strickfaden, Dr. Frankenstein's Electrician, p. 62-68
  144. ^ a b Gurstelle, William (2009). Adventures from the Technology Underground. Crown/Archetype. pp. 71–73. ISBN 978-0307510655.
  145. ^ Breit, G. M.; Tuve, M. A.; Dahl, O. (January 1930). "A laboratory method of producing high potentials". Physical Review. 35 (1): 51–65. Bibcode:1930PhRv...35...51B. doi:10.1103/physrev.35.51.
  146. ^ Armagnac, Alden P. (January 1929). "A five-million-volt gun built to smash atoms". Popular Science. 114 (1): 23–24. ISSN 0161-7370. Retrieved September 3, 2015.
  147. ^ Heilbron, J. L.; Seidel, Robert W. (1989). Lawrence and His Laboratory: A History of the Lawrence Berkeley Laboratory, Vol. 1. Univ. of California Press. pp. 53–54, 58–59. ISBN 978-0520064263.
  148. ^ Reed, John Randolph (2000). "Designing high-gain triple resonant Tesla transformers" (PDF). Dept. of Engineering and Computer Science, Univ. of Central Florida. Retrieved August 2, 2015. {{cite journal}}: Cite journal requires |journal= (help)