FHSST Physics/Electrostatics/Charge
Charge
All objects surrounding us (including people!) contain large amounts of electric charge. Charge can be negative or positive and is measured in units called coulombs (C). Usually, objects contain the same amount of positive and negative charge so its effect is not noticeable and the object is called electrically neutral. However, if a small imbalance is created (i.e. there is a little bit more of one type of charge than the other on the object) then the object is said to be electrically charged.
Some rather amusing examples of what happens when a person becomes charged are for example when you charge your hair by combing it with a plastic comb and it stands right up on end! Another example is when you walk fast over a nylon carpet and then touch a metal doorknob and give yourself a small shock (alternatively you can touch your friend and shock them!)
Charge has 3 further important properties:
- Charge is always conserved. Charge, just like energy, cannot be created or destroyed.
- Charge comes in discrete packets. The smallest unit of charge is that carried by one electron called the elementary charge, e, and by convention, it has a negative sign ( ).
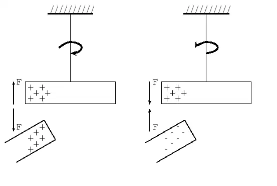
- Charged objects exert electrostatic forces on each other. Like charges repel and unlike charges attract each other.
|
The word `electron' comes from the Greek word for amber! The ancient Greeks observed that if you rubbed a piece of amber,
you could use it to pick up bits of straw. (Attractive electrostatic force!) |
You can easily test the fact that like charges repel and unlike charges attract by doing a very simple experiment. Take a glass rod and rub it with a piece of silk, then hang it from its middle with a piece string so that it is free to move. If you then bring another glass rod which you have also charged in the same way next to it, you will see the rod on the string turn away from the rod in your hand i.e. it is repelled. If, however, you take a plastic rod, rub it with a piece of fur and then bring it close to the rod on the string, you will see the rod on the string turn towards the rod in your hand i.e. it is attracted!
What actually happens is that when you rub the glass with silk, tiny amounts of negative charge are transferred from the glass onto the silk, which causes the glass to have less negative charge than positive charge, making it positively charged. When you rub the plastic rod with the fur, you transfer tiny amounts of negative charge onto the rod and so it has more negative charge than positive charge on it, making it negatively charged.
Conductors and Insulators
Some materials allow charge carriers to move relatively freely through them (e.g. most metals, tap water, the human body) and these materials are called conductors. Other materials, which do not allow the charge carriers to move through them (e.g. plastic, glass), are called non-conductors or insulators.
Aside: As mentioned above, the basic unit of charge, namely the elementary charge, e, is carried by the electron. In a conducting material (e.g. copper), when the atoms bond to form the material, some of the outermost, loosely bound electrons become detached from the individual atoms and so become free to move around. The charge carried by these electrons can move around in the material! In insulators, there are very few, if any, free electrons and so the charge cannot move around in the material.
If an excess of charge is put onto an insulator, it will stay where it is put and there will be a concentration of charge in that area on the object. However, if an excess of charge is put onto a conductor, the charges of like sign will repel each other and spread out over the surface of the object. When two conductors are made to touch, the total charge on them is shared between the two. If the two conductors are identical, then each conductor will be left with half of the total charge.
